СКЛАД ЗАКОНОВ

    

СКЛАД ЗАКОНОВ. Главная тема
16+

СКЛАД ЗАКРЫТ

#вируспруденция обнулила вообще всё!

 

Реклама на сайте                   

 

 

ГОСТ 26381-84 Поддоны плоские одноразового использования. Общие технические условия

 

СОДЕРЖАНИЕ

 

ГОСУДАРСТВЕННЫЙ КОМИТЕТ СССР ПО СТАНДАРТАМ

ГОСУДАРСТВЕННЫЙ СТАНДАРТ СОЮЗА ССР

 

ПОДДОНЫ ПЛОСКИЕ ОДНОРАЗОВОГО ИСПОЛЬЗОВАНИЯ

Общие технические условия

 

Disposable flat pallets. General specifications

 

ГОСТ 26381-84

 

См. также ГОСТ ISO 445-2013 (ISO 445:2008, IDT) Средства пакетирования. Поддоны. Термины и определения

 

Постановлением Государственного комитета СССР по стандартам от 20 декабря 1984 г. № 4784 срок действия установлен с 01.01.86

Ограничение снято (11-94)

Изменение № 1 ГОСТ 26381-84 Поддоны плоские одноразового использования. Технические требования

Утверждено и введено в действие Постановлением Государственного комитета СССР по управлению качеством продукции и стандартам от 22.03.90 № 509

Несоблюдение стандарта преследуется по закону

Настоящий стандарт распространяется на поддоны плоские деревянные одноразового использования размерами в плане 800´1200 мм и 1000´1200 мм, предназначенные для формирования транспортных, пакетов при доставке последних в районы или страны, из которых возврат поддонов нецелесообразен. Поддоны применяются при выполнении механизированных процессов перемещения, складирования и перевозки автомобильным, железнодорожным и водным транспортом.

Установленные настоящим стандартом показатели технического уровня предусмотрены для поддонов первой категории качества.

Стандарт не распространяется на поддоны специального назначения и применяемые при доставке пакетов в страны с тропическим климатом.

 

1. ТЕХНИЧЕСКИЕ ТРЕБОВАНИЯ

1.1. Поддоны должны изготовляться в соответствии с требованиями настоящего стандарта по рабочим чертежам, утвержденным в установленном порядке.

1.2. Конструкция поддонов должна обеспечивать наличие проемов, образованных с помощью шашек, для ввода вилочных захватов с двух противоположных сторон и скрепляющих средств пакетирования с четырех сторон.

(Новая редакция, Изм. № 1).

1.3. По устойчивости к механическим воздействиям поддоны должны характеризоваться величиной прогиба верхнего настила.

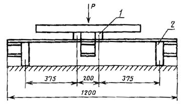
При действии нагрузки в течение 30 мин, приложенной в соответствии с черт. 1 и 2 рекомендуемого приложения, равной 55 и 100% массы брутто поддона, прогиб не должен превышать 30 и 8 мм, а остаточный прогиб после снятия нагрузки не должен превышать 3 и 1,5 мм соответственно.

1.4. По механической прочности (для возможности штабелирования пакетов) поддоны должны выдерживать равномерно распределенную по площади поддона нагрузку, равную четырехкратной массе брутто.

1.5. Поддоны должны обеспечивать наработку не менее 15 погрузочно-разгрузочных операций.

1.6. При изготовлении поддонов не допускается:

отклонение от параллельности поверхностей верхнего и нижнего настилов более 3 мм;

разность длин диагоналей в верхнем и нижнем настилах более 10 мм;

несквозные зазоры более 0,5 мм и сквозные зазоры в местах соединения шашек с досками и досок верхнего настила между собой.

1.7. Деревянные детали поддонов должны изготовляться из пиломатериалов низших сортов хвойных пород по ГОСТ 8486-86 и мягких лиственных пород и березы по ГОСТ 2695-83 в соответствии с табл. 1, с допускаемыми пороками древесины, указанными в табл. 2.

1.8. Пиломатериалы, применяемые для изготовления деталей поддонов, должны иметь влажность не более 25%.

Допускается применение пиломатериалов хвойных пород 4-го сорта с влажностью не более 50%.

(Измененная редакция, Изм. № 1).

Таблица 1

Наименование детали поддона

Пиломатериалы лиственных пород 3-го сорта

Пиломатериалы хвойных пород

3-го сорта

4-го сорта

Доска пастила:

 

 

 

верхнего

+

+

-

нижнего

+

-

+

Шашка

+

-

+

Примечания:

1. Знак «+» означает допустимость изготовления, знак «-» - недопустимость.

2. Допускается применение досок верхнего настила из пиломатериалов хвойных пород 4-го сорта с увеличением толщины досок на одну градацию по ГОСТ 24454-80

Таблица 2

Пороки древесины по ГОСТ 2140-81

Норма допускаемых пороков в

доске верхнего настила

доске нижнего настила

шашке

1. Сучки

 

 

 

1.1. Сросшиеся и частично сросшиеся, здоровые (светлые и темные)

3 шт. размером 1/2 ширины

По ГОСТ 2695-83, ГОСТ 8486-86

1 шт. размером до 30 мм

1.2. Несросшиеся здоровые (светлые и темные)

В общем числе сросшихся 3 шт. размером 1/2 ширины

То же

1.3. Выпадающие, загнившие, гнилые и табачные

Не допускаются

в общем числе сросшихся здоровых тех же размеров не более половины их количества

2. Трещины

 

 

 

2.1. Кромочные

Глубиной до 1/2 толщины детали

2.2. Пластевые, выходящие на оба торца

Одна глубиной

 

До 1/3

1/5

 

толщины детали

2.3. Пластевые и кромочные сквозные, выходящие на торец

Общей длиной

 

1/5

До 1/3

1/3

 

длины детали

3. Ядровая и заболонная гнили

Не допускаются

Кромочные до 1/2

В виде отдельных пятен общей площадью до 10%

4. Червоточина

3 шт.

5 шт.

2 шт.

 

 

в том числе одна глубокая

5. Покоробленность

 

 

 

5.1. Продольная по пласти и кромке, крыловатость

 

Не более 2% длины детали

5.2. Поперечная

 

Не более 2% ширины детали

6. Обзол

 

 

 

6.1. Острый

 

Не допускается на внешних кромках крайних досок и шашек

6.2. Тупой

 

1.9. Доски настилов и шашки должны быть цельными, обрезными и при изготовлении поддонов удовлетворять следующим требованиям:

плати и кромки должны подвергаться дополнительной обработке,

не должно быть сучков в центральной части всех и на наружных кромках крайних досок верхнего настила, а также в местах соединения деталей крепежными элементами;

отверстия от выпавших сучков должны быть заделаны пробками на водостойком клее;

торцы досок настилов и шашек должны быть опилены под прямым углом, в них не должно быть сколов и сквозных трещин;

волокна в шашках должны располагаться вдоль настилов, не допускаются сердцевина (сердцевидная трубка) и двойная сердцевина.

Допускается:

наличие внутренних, а для поддонов, используемых на территории СССР при пакетировании продукции в деревянной таре, - всех досок верхнего настила, состоящих из двух равных частей по длине, которые должны быть состыкованы без зазора. При этом крайние состыкованные доски должны быть скреплены с шашками с помощью металлических накладок;

наличие шашек, состоящих из двух равных частей по толщине и соединенных водостойким клеем или крепежными элементами с загибом их концов поперек волокон древесины;

для поддонов, используемых на территории СССР, применение деталей с необрезными кромками, кроме внешних кромок крайних деталей, изготовленных из необрезных пиломатериалов и пилопродукции, полученной от переработки делового горбыля хвойных пород. Толщина детали по всей пласти должна быть одинакова.

1.10. Для поддонов, используемых при доставке транспортных пакетов на экспорт, наличие коры, гнили и отверстий с насекомыми не допускается.

1.9; 1.10 (Новая редакция, Изм. № 1).

1.11. Параметр шероховатости поверхности Rz деталей поддонов из пиломатериалов лиственных пород не должен превышать 1000 мкм, хвойных пород - 1600 мкм по ГОСТ 7016-82.

1.12. При сборке поддонов все крепежные элементы (гвозди, скобы) должны устанавливаться вертикально на расстоянии не менее 25 мм от торцов и кромок доски. Гвозди должны располагаться в шахматном порядке. Расстояние между гвоздями должно быть не менее 1/3 ширины доски.

1.13. Доски шириной до 130 мм должны быть прибиты двумя гвоздями с каждого конца или скобами. Доски шириной свыше 130 мм должны быть прибиты тремя гвоздями. Гвозди и скобы, скрепляющие верхний настил, должны быть загнуты поперек волокон древесины и утоплены на 0,5-1,5 мм. Для соединения деталей поддонов применяются гвозди по ГОСТ 4034-63 и ГОСТ 4028-63, скобы из проволоки по ГОСТ 3282-74 и ГОСТ 17305-71.

1.14. Длина гвоздей и ножек скоб должна определяться суммой толщин соединяемых деталей с добавлением 6-10 мм на загиб гвоздей при их длине до 60 мм и 11-25 мм при длине гвоздей 60 мм и более, на подгиб концов скоб - 6-10 мм.

Диаметр гвоздей должен быть 3,0-3,5 мм в зависимости от их длины, диаметр проволоки для скоб – 1,8-2,0 мм.

Гвозди и скобы не должны выступать из древесины деталей поддонов.

(Дополнено, Изм. №1).

1.15. На каждый поддон должна быть нанесена маркировка.

Маркировка должна быть нанесена краской по трафарету. На шашках в одной из продольных сторон должно быть указано:

на первой - товарный знак предприятия-изготовителя;

на второй - масса брутто поддона в тоннах;

на третьей - дата изготовления (арабскими цифрами месяц и через точку две последние цифры года изготовления).

Допускается нанесение маркировки методом выжигания.

Высота букв и цифр для маркировки должна быть не менее 20 мм.

Материалы, применяемые для нанесения маркировки, выбирают по ГОСТ 14192-77.

Цвет маркировки должен быть контрастным и резко выделяться на шашках поддонов.

1.15 (Введен дополнено, Изм. №1).

(Раздел 2 исключен, Изм. № 1)

3. Основные параметры и размеры

3.1. Основные параметры и размеры поддонов должны соответствовать указанным в табл. 3.

Таблица 3

Наименование параметра, размера

Величина

для поддона 800´1200 мм

для поддона 1000´1200 мм

1. Масса брутто, кг, не более

1000

1250

2. Материалоемкость, м3, не более

0,021

0,026

3. Собственная масса, кг, не более

16

18

4. Высота поддона, мм, не более

95

100

5. Высота проема поддона для ввода вил, мм, не менее

50

50

3.2. Предельные отклонения размеров в плане по длине и ширине не должны превышать ±5 мм.

 

4. Приемка

4.1. Для проверки соответствия поддонов требованиям настоящего стандарта предприятие-изготовитель должно проводить приемо-сдаточные и периодические испытания.

4.2. Приемо-сдаточные испытания

4.2.1. В состав приемо-сдаточных испытаний должна входить проверка на соответствие требованиям пп. 1.6-1.15, 3.1, 3.2.

4.2.2. Для приемо-сдаточных испытаний отбирают пять поддонов от каждой партии.

Партией считают число поддонов одного размера, одновременно сдаваемых на склад, но не более 100 поддонов.

Если при испытании будут обнаружены поддоны, не соответствующие требованиям настоящего стандарта, то проводят повторные испытания удвоенного числа поддонов от данной партии.

При неудовлетворительных результатах повторных испытаний контролю подлежат все изготовленные поддоны. Поддоны, не соответствующие требованиям настоящего стандарта, должны быть забракованы.

4.3. Периодические испытания

4.3.1. Периодические испытания должны проводиться при постановке изделия на производство, при изменении технологии изготовления и конструкторской документации.

4.3.2. Периодическим испытаниям должны подвергаться не менее трех поддонов из партии, прошедших приемо-сдаточные испытания.

4.3.3. В состав периодических испытаний должна входить проверка требований пп. 1.3-1.5.

4.3.4. Проверка наработки проводится с контрольным грузом, соответствующим массе брутто поддона, путем захвата поддонов вилами грузоподъемных средств (толщиной не более 40 мм) и подъема на высоту до 500 мм, опускания на горизонтальную площадку и высвобождения вил. Цикл повторяется 15 раз.

4.3.5. Поддон считают выведенным из строя при раскалывании или изломе хотя бы одной доски или расстройства узлов соединения с отходом одной детали от другой более чем на 5 мм. Если при испытаниях будут обнаружены поддоны, не соответствующие требованиям настоящего стандарта, то проводят повторные испытания удвоенного числа поддонов. При неудовлетворительных результатах повторных испытаний изготовление поддонов прекращают до устранения выявленных дефектов.

4.4. Каждая партия поддонов должна сопровождаться документом, удостоверяющим соответствие качества поддона требованиям настоящего стандарта.

 

5. Методы контроля

5.1. Размеры, указанные в разд. 1 и 3, проверяют измерительным инструментом с погрешностью до 1 мм.

5.2. Влажность деревянных деталей определяют по ГОСТ 16483.7-71.

5.3. Шероховатость поверхности деревянных деталей проверяют по ГОСТ 15612-85.

5.4. Пороки древесины и зазоры определяют при внешнем осмотре.

5.5. Испытания поддонов на устойчивость к механическим воздействиям проводят по требованиям, указанным в пп. 1.3, 1.4, а наработку в п. 4.3.4.

 

6. Транспортирование и хранение

6.1. Поддоны должны транспортироваться без упаковки.

6.2. При транспортировании поддоны должны быть собраны в пакеты, уложенные один на другой и скрепленные двумя продольными и двумя поперечными обвязками из упаковочной металлической ленты ПНО, 4´15 по ГОСТ 3560-73 или стальной низкоуглеродистой проволоки диаметром 3-4 мм по ГОСТ 3282-74.

Примечание. Допускается транспортирование поддонов в непакетированном виде.

6.3. Поддоны при транспортировании должны быть защищены от воздействия атмосферных осадков и солнечных лучей.

6.4. Транспортирование поддонов должно производиться транспортом всех видов в соответствии с правилами перевозки грузов, действующими на транспорте каждого вида.

6.5. Поддоны должны храниться в крытых складских помещениях или под навесом. Допускается кратковременное хранение в штабелях на открытых площадках с укрытием водонепроницаемым материалом.

6.6. Поддоны в пакетированном виде необходимо укладывать устойчивыми штабелями прямоугольной формы высотой до 6 м. Отклонение штабеля от вертикали - не более 50 мм.

 

7. Указания по эксплуатации

7.1. При формировании пакетов грузы должны укладываться на поддоны без ударов с равномерным распределением нагрузки.

7.2. Погрузка и выгрузка поддонов, а также их перемещение в складских и производственных помещениях, должны производиться погрузчиками или кранами с вилочными захватами, вводимыми без ударов в соответствующие проемы поддонов. При этом запрещается подвергать поддоны ударным воздействиям.

7.3. Сбрасывать поддоны на ребро и с высоты запрещается.

 

8. Гарантии изготовителя

8.1. Предприятие-изготовитель гарантирует соответствие поддонов требованиям настоящего стандарта при соблюдении потребителем условий транспортирования, хранения и эксплуатации.

8.2. Гарантийный срок хранения поддонов - 18 мес. со дня их изготовления.

(Разделы 3-8 введены дополнительно, Изм. № 1).

ПРИЛОЖЕНИЕ
Рекомендуемое

Схемы испытания поддонов на устойчивость к механическим воздействиям

1 - брусок размером 1000´50´50 мм; 2 - брусок размером 1000´50´150 мм

Черт. 1

1 - брусок размером 1000´50´50 мм

Черт. 2

 

ГОСТ 26381-84 Поддоны плоские одноразового использования. Общие технические условия

 

СКЛАД ЗАКОНОВ

 

 

  Яндекс цитирования