СКЛАД ЗАКОНОВ

    

СКЛАД ЗАКОНОВ. Главная тема
16+

СКЛАД ЗАКРЫТ

#вируспруденция обнулила вообще всё!

 

Реклама на сайте                   

 

 

ГОСТ 28434-90 Краны-штабелеры мостовые. Общие технические условия

 

МЕЖГОСУДАРСТВЕННЫЙ СТАНДАРТ

 

КРАНЫ-ШТАБЕЛЕРЫ МОСТОВЫЕ

 

ОБЩИЕ ТЕХНИЧЕСКИЕ УСЛОВИЯ

 

Overhead travelling stacker cranes. General specifications

 

ГОСТ 28434-90

 

Группа Г86

 

МКС 53.020.20

 

ОКП 31 7611

 

Дата введения

1 января 1991 года

 

ИНФОРМАЦИОННЫЕ ДАННЫЕ

 

1. Разработан и внесен Министерством тяжелого машиностроения СССР.

2. Утвержден и введен в действие Постановлением Государственного комитета СССР по управлению качеством продукции и стандартам от 29.01.1990 N 100.

3. Введен впервые.

4. Ссылочные нормативно-технические документы

 

-------------------------------------+-------------------------------------

          Обозначение НТД,           |      Номер пункта, приложения

       на который дана ссылка        |
-------------------------------------+-------------------------------------

ГОСТ 9.014-78                        |2.7.9

ГОСТ 9.032-74                        |2.7.4

ГОСТ 9.104-79                        |2.7.5, Приложение 4

ГОСТ 9.301-86                        |2.7.7

ГОСТ 9.302-88                        |4.14.3

ГОСТ 9.402-80                        |4.14.1

ГОСТ 12.2.053-91                     |2.11, 2.13.3

ГОСТ 12.4.026-76                     |6.2.3

ГОСТ 380-94                          |Приложение 1

ГОСТ 977-88                          |2.4.3, 2.4.4, 4.8, Приложение 1

ГОСТ 1050-88                         |2.4.3, 2.5.3, Приложение 1

ГОСТ 1412-85                         |2.4.4, 4.8, Приложение 1

ГОСТ 1575-87                         |1.1

ГОСТ 2712-75                         |Приложение 3

ГОСТ 2789-73                         |2.5.1

ГОСТ 2991-85                         |2.14.3

ГОСТ 3325-85                         |2.5.1

ГОСТ 3333-80                         |Приложение 2

ГОСТ 4543-71                         |Приложение 1

ГОСТ 6267-74                         |Приложение 2

ГОСТ 6631-74                         |Приложение 4

ГОСТ 7512-82                         |4.13

ГОСТ 8479-70                         |2.4.5, 4.9

ГОСТ 8828-89                         |2.14.7

ГОСТ 9012-59                         |4.12

ГОСТ 9013-59                         |4.12

ГОСТ 9109-81                         |Приложение 4

ГОСТ 9150-2002                       |2.5.2

ГОСТ 9378-93                         |4.10

ГОСТ 10198-91                        |2.14.3

ГОСТ 10354-82                        |2.14.7

ГОСТ 10549-80                        |2.5.2

ГОСТ 12707-77                        |Приложение 4

ГОСТ 12969-67                        |2.13.2

ГОСТ 12971-67                        |2.13.2

ГОСТ 14192-96                        |2.13.5

ГОСТ 14296-78                        |Приложение 2

ГОСТ 14959-79                        |2.4.3, Приложение 1

ГОСТ 15150-69                        |Вводная часть, 5.4, 5.5, Приложение 4

ГОСТ 16093-2004                      |2.5.2

ГОСТ 16553-88                        |1.1

ГОСТ 18374-79                        |Приложение 4

ГОСТ 18852-73                        |Приложение 2

ГОСТ 19281-89                        |Приложение 1

ГОСТ 21150-87                        |Приложение 2

ГОСТ 21931-76                        |2.9.3

ГОСТ 23170-78                        |2.14.5

ГОСТ 23343-78                        |Приложение 4

ГОСТ 23652-79                        |Приложение 2

ГОСТ 24297-87                        |4.1

ГОСТ 25129-82                        |Приложение 4

ГОСТ 25835-83                        |1.1, 2.3.3

ГОСТ 27584-88                        |2.3.15

ОСТ 38.01.370-84                     |Приложение 2

СНиП II-23-81                        |Приложение 1

ТУ 38.101451-78                      |Приложение 2

ТУ 38.101413-78                      |Приложение 2

ТУ 38 УССР 201352-84                 |Приложение 2

ТУ 38 УССР 2012-14-80                |Приложение 2

ТУ 39-9-157-75                       |Приложение 2

 

5. Ограничение срока действия снято по Протоколу N 5-94 Межгосударственного совета по стандартизации, метрологии и сертификации (ИУС 11-12 - 94).

6. Переиздание. Ноябрь 2005 г.

 

Настоящий стандарт распространяется на электрические мостовые опорные краны-штабелеры грузоподъемностью от 0,125 до 16,0 т для переработки тарно-штучных и длинномерных грузов с ручным управлением с пола и из подвижной кабины оператора.

Краны-штабелеры должны изготавливаться для эксплуатации в закрытых помещениях в климатических исполнениях У и Т категорий 2 и 3 по ГОСТ 15150.

Зона пожароопасности - класса П-IIа в соответствии с требованиями "Правил устройства электроустановок" (ПУЭ), утвержденных Министерством энергетики и электрификации СССР.

Стандарт не распространяется на краны-штабелеры, предназначенные для работы в помещениях (зонах), где находятся легковоспламеняющиеся и взрывоопасные грузы, ядовитые и химически активные вещества в концентрациях, разрушающих металл и электрическую изоляцию.

 

1. ОСНОВНЫЕ ПАРАМЕТРЫ И ХАРАКТЕРИСТИКИ

 

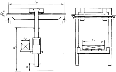
1.1. Основные параметры и характеристики кранов-штабелеров серийного производства должны удовлетворять требованиям ГОСТ 16553, а для изделий единичного производства - табл. 1, 2 и черт. 1 - 3 настоящего стандарта.

 

Таблица 1

 

------------------------------------+--------------------------------------

      Наименование показателя       |     Исполнение кранов-штабелеров

                                    +-----------+----------+---------------

                                    |    ОП     |    ОК    |      ОКД

------------------------------------+-----------+----------+---------------

 1. Грузоподъемность, т <*>         |0,125 - 2,0|1,0 - 16,0|2,0 - 8,0

 2. Способ управления               |  Ручной   |     Ручной из кабины

                                    |  с пола   |
 3. Пролет моста, м (L )            |2,0 - 22,5 |7,5 - 34,0|  7,5 - 34,0

                      к             |           |          |
 4. Высота подъема грузозахватного  | 2,0 - 6,0 |3,0 - 16,0|  3,0 - 16,0

органа, м (H )                      |           |          |
            п                       |           |          |
 5. Верхний габарит, м,             |    2,2    |   3,4    |      3,8

не более (H )                       |           |          |
           в                        |           |          |
 6. Расстояние от уровня пола       |     -     |    -     |     1,40

до нижнего рабочего положения       |           |          |
грузозахватного органа, м, не более |           |          |
(h)                                 |           |          |
 7. Габаритные размеры              |           |          |
перерабатываемого груза в плане, м, |           |          |
не более:                           |           |          |
  - длина (l )                      |    8,0    |   12,0   |     12,0

            г                       |           |          |
  - ширина (b )                     |    2,0    |   2,0    |      2,0

             г                      |           |          |
 8. Скорость механизмов, м/с        |           |          |
+/- 15%:                            |           |          |
  - подъема груза                   |0,125; 0,2;|  0,125;  |  0,125; 0,2;

                                    |0,25; 0,32 |0,2; 0,25;|0,25; 0,32; 0,4

                                    |           |0,32; 0,4 |
  - передвижения крана-штабелера    |0,4; 0,50; |0,8; 1,0; |0,8; 1,0; 1,25;

                                    | 0,63; 0,8 |1,25; 1,6;|   1,6; 2,0

                                    |           |   2,0    |
  - передвижения грузовой тележки   |0,20; 0,25;|  0,25;   |0,25; 0,32 0,4;

                                    |0,32; 0,4; |0,32; 0,4;|   0,5; 0,63

                                    |    0,5    |0,5; 0,63 |
  - выдвижения грузозахватного      |     -     |    -     |  0,125; 0,2;

органа                              |           |          |  0,25; 0,32;

                                    |           |          |0,4; 0,5; 0,63

 9. Группа режима работы механизмов |           |          |
по ГОСТ 25835:                      |           |          |
  - подъема груза                   |  5М; 4М   |  5М; 4М  |    5М; 4М

  - передвижения крана-штабелера    |  5М; 4М   |  5М; 4М  |    5М; 4М

 10. Тип колонны                    |       Цельная,       |    Цельная

                                    |   телескопическая    |
 11. Тип грузозахватного органа     |Вилочный, штыревой для|Телескопический

                                    | длинномерных грузов, |
                                    |     специальный      |

 

--------------------------------

<*> Промежуточные значения грузоподъемностей должны соответствовать ГОСТ 1575.

 

Таблица 2

 

-----------------------------+----------+----------------------------------

   Наименование параметра    |Исполнение|          Тип механизмов

                             |кранов-   +-------+---------+--------+-------

                             |штабелеров|подъема|пере-    |пере-   |выдви-

                             |          | груза |движения |движения|жения

                             |          |       |крана-   |грузовой|грузо-

                             |          |       |штабелера|тележки |захват-

                             |          |       |         |        |ного

                             |          |       |         |        |органа

-----------------------------+----------+-------+---------+--------+-------

 1. Установочные скорости,   |ОП        | 0,16  |   0,4   |  0,4   |   -

м/с +/- 15%                  |ОК; ОКД   | 0,125 |   0,4   |  0,4   | 0,125

 2. Ускорения (замедления),  |ОП        |  1,0  |   0,7   |  0,7   |   -

м/с2                         |ОК; ОКД   |  1,0  |   0,6   |  0,6   |  1,0

 

ГОСТ 28434-90 Краны-штабелеры мостовые. Общие технические условия

 

Черт. 1

 

ГОСТ 28434-90 Краны-штабелеры мостовые. Общие технические условия

 

Черт. 2

 

ГОСТ 28434-90 Краны-штабелеры мостовые. Общие технические условия

 

Черт. 3

 

Установочные скорости механизмов, ускорения (замедления) для кранов-штабелеров всех типов не должны превышать значений, указанных в табл. 2.

1.2. Пример условного обозначения электрического мостового опорного крана-штабелера, управляемого с пола, грузоподъемностью 1,0 т, с пролетом моста 8,1 м, высотой подъема грузозахватного органа 5,2 м, для переработки тарно-штучных грузов с размерами в плане 1,2 (длина) x 0,8 (ширина) м, климатического исполнения У категории 3:

 

Кран-штабелер ОП-1,0 - 8,1 - 5,2 - 1,2 x 0,8-У3 ГОСТ 28434-90

 

1.3. Пример условного обозначения электрического мостового опорного крана-штабелера, управляемого из кабины, грузоподъемностью 1,0 т, с пролетом моста 22,5 м, высотой подъема грузозахватного органа 5,3 м, для переработки грузов с размерами в плане 4,0 (длина) x 0,6 (ширина) м, климатического исполнения У категории 2:

 

Кран-штабелер ОК-1,0 - 22,5 - 5,3 - 4,0 x 0,6-У2 ГОСТ 28434-90

 

1.4. Пример условного обозначения электрического мостового опорного крана-штабелера, управляемого из кабины, для длинномерных грузов, грузоподъемностью 5,0 т, с пролетом моста 22,5 м, высотой подъема грузозахватного органа 6,6 м, для переработки грузов с размерами в плане 9,0 (длина) x 0,8 (ширина) м, климатического исполнения У категории 3:

 

Кран-штабелер ОКД-5,0 - 22,5 - 6,6 - 9,0 x 0,8-У3 ГОСТ 28434-90

 

2. ТЕХНИЧЕСКИЕ ТРЕБОВАНИЯ

 

2.1. Краны-штабелеры должны изготавливаться в соответствии с требованиями настоящего стандарта по рабочим чертежам, утвержденным в установленном порядке.

2.2. Электрооборудование кранов-штабелеров должно удовлетворять требованиям "Правил устройства электроустановок" (ПУЭ), утвержденных Министерством энергетики и электрификации СССР.

2.3. Требования к конструкции

2.3.1. Канаты, используемые для подъема груза вместе с кабиной оператора или отдельно кабины, должны быть исполнения ГЛ (грузолюдские).

2.3.2. В механизмах подъема груза следует применять стальные канаты или пластинчатые цепи. Стальные канаты должны иметь коэффициент запаса прочности не менее 9, а цепи - не менее 6, если оборудование кабины ловителями не требуется, и соответственно не менее 6 и 5, если оборудование кабины ловителями является обязательными или кабина отсутствует.

Коэффициент запаса прочности несущего органа следует определять по формуле

 

Рисунок 7,

 

где P - разрывное усилие несущего органа в целом, Н;

S - наибольшая статическая нагрузка несущего органа, Н.

При наличии нескольких независимых несущих органов (канаты или цепи) в случае обрыва одного из них неповрежденные органы должны удерживать весь груз.

2.3.3. Коэффициент запаса торможения для механизма подъема груза должен быть не менее 1,75 для группы режима работы 4М и 2,0 - для группы 5М по ГОСТ 25835.

2.3.4. Диаметры грузовых, уравнительных и отклоняющихся блоков, а также диаметры грузовых барабанов должны выбираться в соответствии с требованиями "Правил устройства и безопасной эксплуатации грузоподъемных кранов", утвержденных Госгортехнадзором СССР.

2.3.5. В механизмах подъема груза с неразмыкаемой кинематической связью барабана с электродвигателем в качестве тормозного шкива может быть использована одна из полумуфт соединения электродвигателя с редуктором.

В случае применения муфт с амортизирующим устройством (втулочно-пальцевые, пружинные) в качестве тормозного шкива допускается использовать только полумуфту, закрепленную на валу редуктора.

2.3.6. Упругий прогиб пролетных балок моста от силы тяжести масс грузовой тележки, колонны, рамы телескопической, грузоподъемника, кабины с оператором и груза при их номинальных значениях не должны превышать:

1/700 пролета моста для кранов-штабелеров исполнений ОП и ОКД;

1/1000 пролета моста для кранов-штабелеров исполнения ОК.

2.3.7. Конструкция крана-штабелера и его грузовой тележки должны быть выполнены таким образом, чтобы исключалась возможность их схода с рельсов при наездах на упор.

2.3.8. Кабина управления должна отвечать требованиям "Правил устройства и безопасной эксплуатации грузоподъемных кранов" Госгортехнадзора. Распашные двери кабины могут открываться как внутрь, так и наружу.

2.3.9. Кабина должна быть выполнена закрытой или полуоткрытой. Полуоткрытая кабина должна иметь крышу, заднюю и боковые стены и дверь высотой не менее 1,1 м.

Кабина должна иметь блокировочные устройства, допускающие движение крана-штабелера (кабины) только при нахождении оператора в пределах ее габарита.

2.3.10. Эквивалентный уровень звука на рабочем месте оператора не должен превышать:

- для кранов-штабелеров, выпускаемых с 1991 по 1996 гг., - 80 дБА;

- для кранов-штабелеров, выпускаемых с 1996 до 2001 гг., - 78 дБА.

2.3.11. Среднеквадратические значения виброскорости (логарифмические уровни виброскорости) в октавных полосах частот на рабочем месте оператора не должны превышать значений, приведенных в табл. 3.

 

Таблица 3

 

------------------------+-------------------------+------------------------

  Среднегеометрические  |  Среднеквадратические   |Логарифмический уровень

   частоты полос, Гц    | значения виброскорости, |   виброскорости, дБ

                        |               -2        |
                        |       м/с x 10          |
                        +-------------------------+------------------------

                        |                  Общая вибрация

------------------------+-------------------------+------------------------

            2           |           3,5           |          117

            4           |           1,3           |          108

            8           |           0,63          |          102

        16; 31,5; 63    |           0,56          |          101

 

2.3.12. При аварии должна быть предусмотрена возможность безопасного выхода оператора из кабины, а также безопасного спуска его. Способ спуска должен быть указан в инструкции по эксплуатации крана-штабелера.

2.3.13. При наличии в кабине люков или аварийного выхода размер их должен быть не менее 500 x 500 мм.

2.3.14. Металлические конструкции, элементы сборочных единиц, перемещаемые с помощью подъемно-транспортных средств, должны иметь приспособления для их строповки или специально обозначенные места, предназначенные для зацепления грузозахватными устройствами.

2.3.15. Рекомендуемые отклонения от номинальных размеров, форм и взаимного расположения поверхностей основных деталей и сборочных единиц - по ГОСТ 27584.

2.4. Требования к комплектующим изделиям и материалам

2.4.1. Климатическое исполнение комплектующих изделий должно соответствовать климатическому исполнению крана-штабелера.

2.4.2. Несущие элементы металлоконструкций кранов-штабелеров должны быть изготовлены из сталей с механическими свойствами, химическим составом, ударной вязкостью и свариваемостью, обеспечивающими работоспособность кранов-штабелеров в диапазоне температур, предусмотренных областью его применения.

Рекомендуемые материалы для изготовления основных деталей и сборочных единиц приведены в Приложении 1.

2.4.3. Ходовые колеса мостов должны изготавливаться из сталей марок 65Г или 75 по ГОСТ 14959 или литых из стали не ниже марок 50Л-II по ГОСТ 977.

Для кранов-штабелеров грузоподъемностью до 0,5 т включ. допускается изготовление ходовых колес из стали 45 по ГОСТ 1050.

2.4.4. Требования к отливкам из серого чугуна - по ГОСТ 1412, отливкам из конструкционной углеродистой и легированной стали - по ГОСТ 977.

2.4.5. Требования к поковкам из конструкционной углеродистой и легированной стали - по ГОСТ 8479.

2.4.6. Рекомендуемый ассортимент смазочных материалов, применяемых в зависимости от температурных условий эксплуатации кранов-штабелеров в районах с умеренным и тропическим климатом, и ассортимент консервационных материалов, применяемых независимо от климатических районов, приведены в Приложениях 2 и 3.

2.5. Требования к обработке

2.5.1. Шероховатость поверхностей основных деталей должна быть не грубее указанной в табл. 4.

 

Таблица 4

 

-------------------------------------------------------------+-------------

           Наименование поверхности деталей                  |Шероховатость

                                                             |по ГОСТ 2789

-------------------------------------------------------------+-------------

 1. Рабочая поверхность тормозного шкива                     |   Ra 1,6

 2. Посадочные поверхности отверстий ходовых колес, зубчатых |   Ra 3,2

колес, барабанов, блоков, муфт, валов                        |
 3. Поверхности катания ходовых колес, поверхности канавок   |   Ra 6,3

барабанов и блоков                                           |

 

Шероховатость поверхностей под подшипники качения - по ГОСТ 3325.

2.5.2. Резьба должна выполняться в соответствии с требованиями ГОСТ 9150. Поле допуска на резьбу для болтов - 6g, для гаек - 6H по ГОСТ 16093, выход резьбы, сбеги, проточки и фаски - по ГОСТ 10549.

2.5.3. Твердость рабочих поверхностей после термической обработки должна быть:

- для ходовых колес мостов - не менее 300 HB, глубина закалки - не менее 15 мм, а для ходовых колес, выполненных из стали 45 по ГОСТ 1050, не менее 240... 300 HB, глубина закалки - не менее 2,0 - 5,0 мм;

- для стальных тормозных шкивов - не менее 300 HB, глубина закалки - 1,5 - 2,0 мм.

Детали после термообработки должны быть очищены от окалины и масла. Наличие трещин и следов пережогов на деталях не допускается. Допуск неравномерности твердости поверхностей +/- 5%.

2.6. Требования к сварным соединениям

Требования к геометрическим формам соединений, прокату, сборке и сварке металлоконструкций - по рабочим чертежам и нормативно-технической документации на прокат и сварку.

Допускается применение всех промышленных способов сварки при условии обеспечения свойств сварных соединений в соответствии с требованиям "Правил устройства и безопасной эксплуатации грузоподъемных кранов", утвержденных Госгортехнадзором СССР, и нормативно-технической документацией на сварные соединения.

2.7. Требования к покрытиям

2.7.1. Краны-штабелеры должны окрашиваться в золотисто-желтый цвет. Допускается их окраска в серый или красно-коричневый цвет.

2.7.2. Изготовитель проводит грунтовку сборочных единиц, транспортируемых без упаковки (п. 2.14.2). Внутренние закрытые полости конструкций допускается не грунтовать.

Сборочные единицы, транспортируемые в ящиках или другой закрытой транспортной упаковке, полностью окрашиваются изготовителем.

Комплектующие изделия с антикоррозионными покрытиями могут дополнительно не окрашиваться.

2.7.3. Окончательную окраску неокрашенных сборочных единиц, транспортируемых без упаковки, проводит потребитель в соответствии с указаниями руководства по эксплуатации крана-штабелера.

2.7.4. Окраска кранов-штабелеров должна проводиться по VI классу, а внешних поверхностей кабин и электрошкафов - по V классу ГОСТ 9.032.

2.7.5. Группа условий эксплуатации покрытий, в зависимости от условий эксплуатации кранов-штабелеров, - по ГОСТ 9.104.

Рекомендуемые типы лакокрасочных покрытий и грунтовок, применяемых в зависимости от климатического исполнения кранов-штабелеров и условий эксплуатации покрытий, приведены в Приложении 4.

2.7.6. Механически обработанные детали и метизы должны иметь защитные покрытия, удовлетворяющие по условиям эксплуатации соответствующему климату группе условий эксплуатации основного изделия.

2.7.7. Технические требования к покрытиям механически обработанных деталей и метизов - по ГОСТ 9.301.

2.7.8. Допускается оставлять без покрытий детали и метизы, работающие в среде жидкой или густой смазки.

2.7.9. Временная противокоррозионная защита сборочных единиц и деталей проводится изготовителем в соответствии с требованиями ГОСТ 9.014 для группы изделий V, условий хранения и транспортирования Ж, варианта защиты ВЗ-1 и варианта упаковки ВУ-1, а для электрооборудования - по группе изделий III-2, условий хранения и транспортирования Ж, варианта защиты ВЗ-4 и варианта упаковки ВУ-4; срок защиты - не менее 1,5 года.

2.8. Требования к сборке

Все детали и сборочные единицы, поступившие на сборку, должны быть проверены ОТК и иметь клеймо или документ, удостоверяющий их пригодность.

2.9. Требования к электромонтажу

2.9.1. Изготовитель должен производить:

- электромонтаж кабин, грузовых тележек, грузовых платформ, электрошкафов и пультов;

- изготовление узлов электропроводов, жгутов, разделку кабелей с наконечниками (при необходимости) и их маркировку для всех сборочных единиц, отгружаемых без электромонтажа.

2.9.2. Монтаж электрооборудования должен выполняться в соответствии с требованиями рабочих чертежей и ПУЭ.

2.9.3. Пайка токоведущих проводов должна производиться оловянно-свинцовым припоем по ГОСТ 21931 с содержанием олова не ниже 40%.

2.10. Требования к надежности

2.10.1. Показатели надежности и их значения приведены в табл. 5.

 

Таблица 5

 

----------------------------------------------------+----------------------

              Наименование показателя               |      Исполнение

                                                    |  кранов-штабелеров

                                                    +-------+-------+------

                                                    |  ОП   |  ОК   | ОКД

----------------------------------------------------+-------+-------+------

 1. Коэффициент готовности, не менее:               |       |       |
   - с 1991 до 1996 гг.                             | 0,96  | 0,95  | 0,95

   - с 1996 до 2001 гг.                             | 0,98  | 0,97  | 0,97

 2. Средний ресурс до капитального ремонта <*>, ч,  |       |       |
не менее:                                           |       |       |
   - с 1991 до 1996 гг.                             | 22000 | 22000 |22000

   - с 1996 до 2001 гг.                             | 23000 | 23000 |23000

 3. Наработка на отказ, ч, не менее:                |       |       |
   - с 1991 до 1996 гг.                             |  650  |  650  | 650

   - с 1996 до 2001 гг.                             |  700  |  700  | 700

 

--------------------------------

<*> Для расчетов кранов-штабелеров.

 

2.10.2. Отказом следует считать нарушение работоспособности крана-штабелера, приводящее к прекращению выполнения им заданных функций или снижению его производительности, при этом отказом не считают:

- дефекты, вызванные нарушением требований руководства по эксплуатации;

- дефекты, устранимые оператором или наладчиком за время не более 15 мин.

2.11. Требования безопасности

Кран-штабелер должен быть оборудован устройствами и приборами безопасности в соответствии с требованиями ГОСТ 12.2.053.

2.12. Требования к комплектности

В комплект входят:

- кран-штабелер (монтажными единицами);

- запасные части.

К каждому крану-штабелеру следует прилагать:

- руководство по эксплуатации с необходимыми чертежами для монтажа и обслуживания крана-штабелера;

- формуляр;

- комплектовочную ведомость;

- упаковочные листы.

2.13. Требования к маркировке

2.13.1. Элементы металлических конструкций, собираемые предварительно изготовителем, а затем транспортируемые и подлежащие сборке при монтаже крана-штабелера, должны маркироваться в местах соединений с другими элементами крана-штабелера.

Маркировка должна наноситься в местах, доступных для обзора.

2.13.2. На кране-штабелере должна быть установлена табличка, содержащая:

- наименование или товарный знак изготовителя;

- наименование изделия;

- обозначение изделия (тип, марка);

- грузоподъемность;

- высоту подъема грузозахватного органа;

- пролет моста;

- напряжение питания;

- заводской порядковый номер изделия;

- дату выпуска (изготовления).

Табличка должна соответствовать требованиям ГОСТ 12969 и ГОСТ 12971.

2.13.3. Ограничитель скорости должен снабжаться табличкой в соответствии с требованиями ГОСТ 12.2.053.

2.13.4. Каждая вила крана-штабелера должна иметь маркировку, содержащую:

- расчетную грузоподъемность вилы, т;

- расстояние до центра тяжести, м.

2.13.5. Транспортная маркировка грузовых мест и транспортной тары должна выполняться по ГОСТ 14192. Конкретные требования по содержанию, месту нанесения и способу выполнения транспортной маркировки грузовых мест должны указываться в отгрузочной документации изготовителя.

2.14. Требования к упаковке

2.14.1. Транспортирование кранов-штабелеров осуществляется в разобранном виде отдельными сборочными (монтажными) единицами как упакованными в ящики, так и без упаковки.

2.14.2. Без упаковки могут транспортироваться следующие сборочные единицы:

- рамы мостов, пролетные и концевые балки мостов, вставки концевых балок;

- колонны отдельно или в сборе с рамами телескопическими;

- грузоподъемник в сборе (со снятыми вилами);

- платформа грузовая в сборе;

- тележки грузовой платформы в сборе;

- вилы.

Допускается транспортировка отдельных сборочных единиц укрупненными блоками (в пределах допустимых транспортных габаритов), обеспечивающими повышенную монтажную готовность.

Транспортируемые без упаковки сборочные единицы должны формироваться в транспортные пакеты согласно правилам перевозки грузов, действующим на соответствующем виде транспорта, оборудованные прокладками для предохранения от механических повреждений при проведении погрузо-разгрузочных операций, транспортировании и хранении.

2.14.3. Следующие сборочные единицы транспортируют упакованными в ящики по ГОСТ 10198 и ГОСТ 2991 или в другой вид закрытой тары:

- кабина в сборе;

- тележки кабины;

- грузовые тележки в сборе или со снятыми концевыми балками;

- ограничители скорости и грузоподъемности;

- привод передвижения моста (если он не установлен на площадках моста);

- электрооборудование (шкафы, пульты, клеммные коробки, кабели, конечные выключатели, соединительные детали и детали крепления);

- запасные части в соответствии с перечнем, указанным в ЗИП;

- формуляр, руководство по эксплуатации или техническое описание и инструкция по эксплуатации.

2.14.4. В каждый ящик с упакованными изделиями должен быть вложен упаковочный лист, включающий:

- наименование или товарный знак изготовителя;

- перечень и число изделий в ящике;

- дату упаковки.

Каждый упаковочный лист должен иметь штамп или подпись упаковщика и контролера ОТК.

2.14.5. Упаковка сборочных единиц кранов-штабелеров, изготовляемых для районов с тропическим климатом, должна соответствовать требованиям ГОСТ 23170.

2.14.6. Число отгружаемых мест, их размер и масса должны быть перечислены в формуляре на кран-штабелер.

2.14.7. Техническая документация должна быть упакована в пакет из полиэтиленовой пленки по ГОСТ 10354 или завернута в два слоя водонепроницаемой бумаги по ГОСТ 8828.

2.15. Требования технологичности

Отдельные сборочные единицы должны компоноваться таким образом, чтобы:

- обеспечивался доступ к местам регулировок, контрольных замеров, заливке масла, подтяжке крепежа и т.д.;

- габаритные размеры соответствовали нормам и требованиям, установленным для перевозок автомобильным, железнодорожным и морским транспортом.

 

3. ПРИЕМКА

 

3.1. Краны-штабелеры должны подвергаться следующим видам испытаний:

- для опытных образцов - приемо-сдаточным, приемочным и квалификационным;

- для серийного производства - приемо-сдаточным и периодическим;

- для единичного производства - приемо-сдаточным, приемочным.

3.2. Если изделия единичного производства являются модификацией серийно изготавливаемых кранов-штабелеров, приемочные испытания не проводят.

При создании типоразмерного ряда группы кранов-штабелеров может изготавливаться и испытываться один опытный образец как представитель типоразмерного ряда, параметры которого выбираются разработчиком по согласованию с заказчиком или основным потребителем и оговариваются в техническом задании на проектирование.

3.3. Приемо-сдаточные испытания включают в себя проверку:

- соответствия типов и марок материалов, комплектующих изделий, сборочных единиц и деталей крана-штабелера требованиям конструкторской документации;

- качества сварных швов и защитных покрытий;

- правильности сборки, состояния крепления, габаритных и присоединительных размеров сборочных единиц, механизмов и металлоконструкций;

- электромонтажа отдельных сборочных единиц;

- работы приводов;

- комплектности.

3.4. Объем приемочных испытаний должен включать проверку:

- комплектности и качества рабочей документации на соответствие требованиям ЕСКД (для опытных образцов);

- соответствия эксплуатационных характеристик проектным данным;

- состояния электропроводок и заземления;

- состояния крепления основных несущих элементов, сборочных единиц и механизмов;

- состояния несущих металлоконструкций, механизмов и тормозов путем проведения механических испытаний на статическое и динамическое нагружения (для изделий единичного производства напряжения в металлоконструкциях могут не измеряться);

- пригодности для безопасной эксплуатации, включая проверку работы приборов и устройств безопасности, блокировок и всех размеров безопасности.

3.5. Объем квалификационных испытаний включает проверку:

- комплектности и качества разработки технологической документации на соответствие требованиям ЕСТП;

- материалов приемочных испытаний;

- соответствие эксплуатационных характеристик проектным данным;

- наличия и качества изготовления технологической оснастки;

- состояния электрооборудования и заземления;

- состояния крепления основных несущих элементов, сборочных единиц и механизмов;

- состояния несущих металлоконструкций, механизмов и тормозов;

- пригодности для безопасной работы.

3.6. Периодические испытания

3.6.1. Периодическим испытаниям ежегодно подвергают не менее одного образца крана-штабелера серийного производства как представителя типоразмерного ряда данной модели или данной грузоподъемности.

3.6.2. Объем периодических испытаний должен включать проверку:

- работы всех механизмов крана-штабелера;

- основных габаритных и присоединительных размеров, а также зазоров и размеров безопасности;

- наличия и работы приборов безопасности и блокировок;

- состояния крепления основных несущих элементов, сборочных единиц и механизмов;

- состояния изоляции электропроводок и заземления;

- состояния металлоконструкций путем проведения механических испытаний на статическое и динамическое нагружения без измерения напряжений в металлоконструкциях;

- работы всех механизмов крана-штабелера в предусмотренных режимах.

 

4. МЕТОДЫ ИСПЫТАНИЙ

 

4.1. Организация, проведение и оформление результатов входного контроля комплектующих изделий и материалов должны проводиться в соответствии с требованиями ГОСТ 24297.

4.2. Основные параметры и характеристики кранов-штабелеров (п. 1), значения показателей виброскорости (п. 2.3.10), показатели надежности (п. 2.10), а также работу приборов и устройств безопасности (п. 2.11) проверяют на соответствие требованиям настоящего стандарта и рабочих чертежей при проведении приемочных, квалификационных, периодических испытаний по соответствующим программам и методикам испытаний.

4.3. Правильность применения канатов (п. 2.3.1), материалов (пп. 2.4.2 и 2.4.3) проверяют на соответствие требованиям рабочих чертежей, и она должна подтверждаться сертификатами изготовителя или другим документом, подтверждающим их пригодность, а при их отсутствии марка и качество материалов должны подтверждаться лабораторной проверкой.

4.4. Коэффициенты запаса прочности канатов (п. 2.3.2) и запаса торможения механизма подъема груза (п. 2.3.3) должны подтверждаться расчетами (только для изделий серийного производства).

4.5. Диаметры грузовых, уравнительных и отклоняющих блоков, а также диаметры грузовых барабанов (п. 2.3.4) проверяют на соответствие требованиям рабочих чертежей, а для изделий серийного производства они должны подтверждаться расчетами.

4.6. Правильность применения муфт в механизмах подъема груза (п. 2.3.5), наличие устройств (подхватов), исключающих отрыв от рельса крана-штабелера и грузовой тележки (п. 2.3.7), правильность изготовления кабины управления (пп. 2.3.8, 2.3.9, 2.3.10, 2.3.11 и 2.3.12), наличие приспособлений для строповки (п. 2.3.13) проверяют на соответствие требованиям настоящего стандарта и рабочих чертежей.

4.7. Отклонения от номинальных размеров основных сборочных единиц, а также отклонение формы и взаимного расположения поверхностей металлоконструкций, ходовых колес, тормозных шкивов и канатных барабанов (п. 2.3.14) проверяют на соответствие требованиям настоящего стандарта, рабочих чертежей и комплекта документов технологических процессов с помощью специальных и универсальных средств измерения.

4.8. Отливки из серого чугуна (п. 2.4.4) должны контролироваться в соответствии с требованиями ГОСТ 1412. Для испытаний используют заготовки в литом состоянии. Метод испытаний стальных отливок - по ГОСТ 977.

4.9. Метод испытаний поковок из конструкционной углеродистой и легированной сталей (п. 2.4.5) - по ГОСТ 8479.

4.10. Качество механической обработки поверхностей (п. 2.5.1) контролируют путем сравнения с действующими образцами (эталонами) шероховатости поверхностей по ГОСТ 9378.

4.11. Методы контроля резьбовых соединений, сборочных единиц и электромонтажа (пп. 2.5.2, 2.8 и 2.9) - в соответствии с требованиями рабочих чертежей и комплекта документов технологических процессов.

4.12. Твердость поверхностей деталей и заготовок после термообработки (п. 2.5.3) контролируют в соответствии с требованиями ГОСТ 9012 и ГОСТ 9013.

Контролю твердости поверхностей деталей после термообработки подвергают: для опытных образцов, изделий единичного производства - 100%; при серийном производстве - не менее одной детали из партии 100 шт.

4.13. Качество сварных соединений металлоконструкций (п. 2.6) контролируют внешним осмотром, а стыковые швы - радиографическим методом в соответствии с комплектом документов технологических процессов.

Внешнему осмотру подвергают 100% сварных швов. Форма и размеры сварных швов должны соответствовать требованиям стандартов, указанных в рабочих чертежах.

Радиографическому контролю подвергают все стыковые швы пролетных и опорных балок моста, балок грузовых платформ, колонн и телескопических рам. Порядок контроля радиографическим методом - в соответствии с требованиями ГОСТ 7512.

4.14. Методы контроля покрытий (п. 2.7)

4.14.1. Контроль качества поверхностей, подготовленных к окраске, должен проводиться в соответствии с требованиями ГОСТ 9.402.

При контроле качества поверхностей, подготовленных к окраске, проверяют степень обезжиривания поверхностей и степень очистки от оксидов. Метод контроля степени обезжиривания - протирка чистой ветошью.

4.14.2. Качество лакокрасочных покрытий должно проверяться внешним осмотром - путем сравнения с цветовыми эталонами.

4.14.3. При контроле качества неметаллических неорганических покрытий проверяют внешний вид и защитные свойства покрытий. Контролю подвергают 2% - 5% деталей партии. Качество внешнего вида проверяют путем осмотра деталей невооруженным глазом.

Правила приемки и методы контроля указанных свойств - по ГОСТ 9.302.

4.15. Наличие и качество временной противокоррозионной защиты контролируют в соответствии с требованиями комплекта документов технологических процессов.

4.16. Комплектность (п. 2.12), правильность нанесения маркировок (п. 2.13), а также правильность упаковки (п. 2.14) контролируют в соответствии с требованиями настоящего стандарта и отгрузочной документации.

4.17. Методы контроля при проведении приемо-сдаточных испытаний - в соответствии с требованиями настоящего стандарта, а также:

- для серийного производства - комплекта документов технологических процессов;

- для единичного производства - технического задания.

Объем обязательного контроля для всех сборочных единиц на соответствие требованиям рабочих чертежей, а для изделий серийного производства также на соответствие требованиям комплекта документов технологических процессов должен включать проверку:

- правильности качества сборки (сварки);

- геометрических параметров, в том числе проверку габаритных и присоединительных размеров;

- крепления и свободы вращения ходовых колес, катков, роликов, блоков, опор поворотных;

- шероховатости обработанных поверхностей и твердости термически обработанных деталей;

- наличия смазки в подшипниковых узлах и корпусах редукторов.

Для отдельных сборочных единиц объем дополнительных проверок приведен в табл. 6.

 

Таблица 6

 

------------------------------+--------------------------------------------

Наименование сборочных единиц |        Обязательный объем проверок

------------------------------+--------------------------------------------

 1. Мост в сборе              | Контрольная сборка пролетных балок

(без электрооборудования)     |с концевыми приводами передвижения, проверка

                              |работы приводов вхолостую

------------------------------+--------------------------------------------

 2. Электрошкафы и кабина     | Проверка коммутации электропроводок путем

в сборе                       |прозвонки электрических цепей

------------------------------+--------------------------------------------

 3. Грузовая тележка в сборе  | Контрольная сборка, проверка работы

 4. Грузоподъемник в сборе    |приводов вхолостую, проверка коммутации

 5. Платформа грузовая в сборе|электропроводок путем прозвонки

                              |электрических цепей. Отклонение от

                              |плоскостности опорных поверхностей ходовых

                              |колес грузовой тележки в соответствии

                              |с требованиями рабочих чертежей

------------------------------+--------------------------------------------

 6. Тележка кабины            | Проверка без нагрузки работы рычажного

                              |устройства привода клиновых ловителей кабины

------------------------------+--------------------------------------------

 7. Колонна в сборе с рамой   | Контрольная сборка, проверка работы

телескопической               |без нагрузок рычажного устройства привода

                              |ловителей кабины, а также проверка работы

                              |без нагрузок рычажного устройства фиксаций

                              |телескопической рамы на колонне

------------------------------+--------------------------------------------

 8. Ограничитель скорости     | Проверка соответствия числа оборотов,

                              |при которых должен срабатывать ограничитель

                              |скорости. Срабатывание должно происходить

                              |при частоте вращения шкива, соответствующего

                              |линейной скорости 0,38 - 0,43 м/с

------------------------------+--------------------------------------------

 9. Ограничитель              | Проверка срабатывания выключателей под

грузоподъемности              |максимально допустимой нагрузкой, а также

                              |при полном отсутствии нагрузки. Срабатывание

                              |под нагрузкой должно происходить при

                              |усилении 0,96 - 1,04 от нагрузки, указанной

                              |в рабочих чертежах

------------------------------+--------------------------------------------

 10. Вилы                     | Проверка прочности вил под максимально

                              |допустимой нагрузкой. (Под максимально

                              |допустимой понимается нагрузка, равная

                              |максимальной грузоподъемности

                              |крана-штабелера, деленная на число вил

                              |и умноженная на 3. Нагрузка прикладывается

                              |на расстоянии от спинки вил, равном половине

                              |ее длины)

 

Примечание. В объем проверки работы приводов всех типов входит: проверка зазоров между тормозным шкивом и обкладками колодок тормозов; проверка наличия смазки; регулировка тормозов на моменты, указанные в рабочих чертежах, путем установки длины тормозной пружины в соответствии с требованиями рабочих чертежей; проверка биения тормозных шкивов.

 

Течь масла, неравномерный шум, а также общий шум при работе приводов св. 80 дБА не допускаются.

Проверка работы приводов вхолостую должна проводиться в обе стороны вращения в течение не менее 5 мин. По окончании проверки приводов редукторы должны быть законсервированы.

4.18. Ловители кабины подвергают испытаниям только на полностью собранном кране-штабелере в комплекте с ограничителем скорости в соответствии с программой и методикой испытаний на кран-штабелер.

4.19. Сопротивления заземляющих устройств и сопротивления изоляции электропроводок проверяют в соответствии с требованиями "Правил устройства электроустановок".

4.20. Методы контроля при механических испытаниях на статическое и динамическое нагружения

4.20.1. Механические испытания на статическое нагружение крана-штабелера имеют целью проверку прочности и жесткости крана-штабелера и его отдельных элементов при воздействии как вертикальных, так и горизонтальных нагрузок.

Статическое нагружение на воздействие вертикальной нагрузки производят грузом, масса которого на 25% превышает номинальную грузоподъемность крана-штабелера. При этом в кабине укладывают груз массой 80 кг, а грузовую тележку устанавливают посередине пролета моста. Груз поднимают первоначально на высоту 100 - 200 мм и выдерживают в течение 10 мин, а затем - на полную высоту. Для кранов ОКД испытания проводят при выдвинутых телескопических захватах. Проверяют отсутствие остаточных деформаций и повреждений, а также работу тормоза механизма подъема. При проведении статических нагружений ограничитель грузоподъемности отключают.

Статическое нагружение горизонтальной нагрузкой проводят с грузом, масса которого превышает номинальную грузоподъемность крана-штабелера на 10%, поднятым на высоту 100 - 200 мм от уровня пола. Грузовую тележку устанавливают в середине пролета моста.

Нагрузку, соответствующую максимальному моменту, развиваемому приводами передвижения моста, прилагают к низу колонны (рамы телескопической) в направлении движения моста, при этом грузозахватный орган также должен быть повернут в направлении движения моста.

При проведении испытаний горизонтальной нагрузкой измеряют напряжения в корневом сечении колонны и в средних сечениях пролетных балок моста, а также измеряют перемещения указанных сечений пролетных балок моста и низа колонны (рамы телескопической) по отношению к их первоначальному положению.

Кран-штабелер считают выдержавшим механические испытания на статическое нагружение, если не произойдет повреждение его элементов, не будут установлены остаточные деформации, а измеренные напряжения и перемещения не будут превышать расчетных значений. Проскальзывание тормозного шкива не допускается.

4.20.2. Механические испытания на динамическое нагружение имеют целью проверку работы механизмов и тормозов, проверку прочности и жесткости металлических конструкций под действием нагрузок, возникающих во время пуска и торможения механизмов, а также проверку соответствия технических характеристик крана-штабелера паспортным данным, проверку величин токов, электрических напряжений и ускорений (замедлений) механизмов.

Испытания проводят с грузом, масса которого превышает на 10% номинальную грузоподъемность крана-штабелера.

При проведении механических испытаний на динамическое нагружение проверяют напряжения, деформации и колебания моста (посередине пролета), колонны (напряжение в корневом сечении, перемещение нижнего конца), напряжения в концевых балках моста, балках тележки и на поворотной платформе.

Кран-штабелер считают выдержавшим механические испытания на динамическое нагружение, если не произойдет поломок его элементов и не будут установлены трещины или остаточные деформации, а также если напряжения и прогибы не превосходят расчетных значений.

4.21. Правильность выбора электрооборудования проверяют путем снятия осциллограмм работы приводов передвижения крана-штабелера и грузовой тележки, подъема груза, вращения колонны. Записывают величины скоростей, ускорений (замедлений) механизмов и токов электродвигателей. Проверяют нагрев электродвигателей. Электроприводы считают выдержавшими испытания, если скорости и ускорения приводов находятся в заданных пределах и температура нагрева электродвигателей не превышает нормативов.

4.22. Методы контроля при проведении приемочных, квалификационных и периодических испытаний - в соответствии с требованиями программ и методик приемочных, квалификационных и периодических испытаний.

 

5. ТРАНСПОРТИРОВАНИЕ И ХРАНЕНИЕ

 

5.1. Сборочные единицы кранов-штабелеров транспортируют железнодорожным, автомобильным или водным транспортом.

5.2. Перевозка, размещение и крепление грузов на открытом железнодорожном подвижном составе должны производиться в соответствии с "Правилами перевозок грузов" и "Техническими условиями погрузки и крепления грузов", утвержденными Министерством путей сообщения СССР.

5.3. Все сборочные единицы, предназначенные для транспортировки отдельно, должны соответствовать нормам и требованиям выбранного транспортного средства.

5.4. Условия транспортирования сборочных единиц - в соответствии с ГОСТ 15150 для макроклиматических районов с умеренным и холодным климатом в атмосфере любых типов на суше:

- для металлоконструкций и сборочных единиц, упакованных в ящики, - по условиям хранения 8 (ОЖ3);

- для электрошкафов и кабин операторов - по условиям хранения 5 (ОЖ4).

Условия транспортирования для макроклиматических районов с тропическим климатом и при морских перевозках во всех районах:

- для металлоконструкций и сборочных единиц - 9 (ОЖ1);

- для электрошкафов и кабин операторов - 6 (ОЖ2), а при морских перевозках в трюмах - 3 (Ж3).

5.5. Условия хранения сборочных единиц у изготовителя и потребителя - по ГОСТ 15150 в атмосфере любых типов:

- для металлоконструкций - по группе 6 (ОЖ2) под навесом или в закрытых помещениях;

- для всех сборочных единиц, упакованных в ящики, - по группе 6 (ОЖ2) в закрытых помещениях.

5.6. Не допускается хранение сборочных единиц кранов-штабелеров в помещениях, содержащих в окружающей среде пары кислот, щелочей и других агрессивных веществ в концентрациях, разрушающих покрытия, металл и электрическую изоляцию.

 

6. УКАЗАНИЯ ПО ЭКСПЛУАТАЦИИ

 

6.1. Техническое освидетельствование

6.1.1. Техническое освидетельствование проводят после монтажа у потребителя и после каждого года эксплуатации крана-штабелера в соответствии с требованиями руководства по эксплуатации.

6.1.2. Техническому освидетельствованию подвергают каждый вновь смонтированный кран-штабелер, а также все краны-штабелеры единичного производства, не прошедшие приемочных испытаний.

6.1.3. Результаты проведения технического освидетельствования записывают в формуляр крана-штабелера с указанием срока проведения последующего освидетельствования.

6.2. Требования к технике безопасности при эксплуатации и ремонте

6.2.1. При наладке и эксплуатации крана-штабелера следует руководствоваться требованиями ПТЭ и ПТБ. При эксплуатации необходимо ежедневно перед началом работы проверять исправность тормозов всех механизмов; при необходимости проводят их регулировку.

6.2.2. При установке двух мостовых кранов-штабелеров или мостового крана-штабелера и мостового крана общего применения на одних рельсовых крановых путях зоны их действия должны быть разделены механическими упорами и соответствующими линейками и выключателями.

В технически обоснованных случаях допускается установка на одних рельсовых крановых путях мостового крана-штабелера и мостового крана общего назначения без разделительных упоров, но при этом должны быть предусмотрены блокировочные устройства, обесточивающие питание троллей при подходе кранов друг к другу таким образом, чтобы между мостовым краном-штабелером и мостовым краном общего назначения при их движении навстречу один другому всегда был участок обесточенных троллеев длиной не менее суммы тормозных путей обоих кранов; кроме того, эти краны должны быть оборудованы линейками и выключателями, исключающими наезд кранов друг на друга.

6.2.3. Зоны действия мостовых кранов-штабелеров исполнений ОП и ОК допускается не ограждать, однако эта зона должна быть обязательно обозначена разметкой на полу склада и иметь предупредительные надписи в соответствии с требованиями ГОСТ 12.4.026 <*>.

--------------------------------

<*> На территории Российской Федерации действует ГОСТ Р 12.4.026-2001.

 

6.2.4. На кране-штабелере должна быть установлена на видном месте таблица, написанная крупным шрифтом, с обозначением грузоподъемности, инвентарного номера предприятия и даты проведения последующего технического освидетельствования.

6.2.5. При ремонте крана-штабелера его питание должно быть отключено и при этом предусмотрены меры против ошибочного включения.

6.2.6. Ремонтные площадки, лестницы, настилы, ограждения, люки и т.д. должны изготавливаться в соответствии с требованиями "Правил устройства и безопасной эксплуатации грузоподъемных кранов".

6.3. Требования к эксплуатации и техническому обслуживанию

6.3.1. Кран-штабелер не должен допускаться к работе:

- если он не прошел технического освидетельствования после изготовления и монтажа или ежегодного технического освидетельствования;

а также при:

отсутствии приказа о назначении лица, ответственного за исправное состояние оборудования,

истекшем сроке проведения последнего технического освидетельствования,

наличии каких-либо неисправностей.

6.3.2. Кран-штабелер может быть допущен к подъему и перемещению грузов, масса и габариты которых не превышают значений, предусмотренных технической документацией.

6.3.3. Краны-штабелеры запрещается применять для подъема и транспортирования людей.

6.3.4. Использование кранов-штабелеров в более тяжелом режиме работы, чем указано в формуляре, не допускается.

6.3.5. Запрещается производить подтягивание грузов по земле, полу и т.д., а также нагружать колонны кранов-штабелеров горизонтальными силами.

6.3.6. Не реже одного раза в год, а также после капитального ремонта крана-штабелера должно проверяться наличие заземления и сопротивления изоляции.

6.3.7. Техническое обслуживание кранов-штабелеров должно производиться в строгом соответствии с требованиями руководства (инструкции) по эксплуатации.

 

7. ГАРАНТИИ ИЗГОТОВИТЕЛЯ

 

Изготовитель гарантирует соответствие кранов-штабелеров требованиям настоящего стандарта при соблюдении условий эксплуатации, транспортирования, хранения и монтажа, установленных стандартом.

Гарантийный срок эксплуатации - 18 мес со дня ввода крана в эксплуатацию, но не более 24 мес со дня отгрузки потребителю.

 

Приложение 1

Справочное

 

РЕКОМЕНДУЕМЫЕ МАТЕРИАЛЫ, ИЗ КОТОРЫХ МОГУТ ИЗГОТАВЛИВАТЬСЯ

ОСНОВНЫЕ ДЕТАЛИ И СБОРОЧНЫЕ ЕДИНИЦЫ

 

Таблица 7

 

-----------------------------+-------------------+-------------------------

 Детали и сборочные единицы  |     Заготовки     |        Материалы

                             |                   +--------------+----------

                             |                   |    Марка     |  Номер

                             |                   |              |стандарта

-----------------------------+-------------------+--------------+----------

 1. Барабаны грузовые        |Литые              |СЧ15          |ГОСТ 1412

                             |                   |Отливка 25Л-II|ГОСТ 977

                             +-------------------+--------------+----------

                             |Из труб, сварные,  |Сталь 20      |ГОСТ 1050

                             |из проката         |Ст3сп         |ГОСТ 380

                             |                   |09Г2-12       |ГОСТ 19281

                             |                   |09Г2С-12      |ГОСТ 19281

                             |                   |17Г1С         |ГОСТ 19281

-----------------------------+-------------------+--------------+----------

 2. Блоки канатные силовые   |Литые              |СЧ15          |ГОСТ 1412

                             |                   |Отливка 25Л-II|ГОСТ 977

                             +-------------------+--------------+----------

                             |Штампованные,      |Ст3сп         |ГОСТ 380

                             |кованые, из проката|09Г2-12       |ГОСТ 19281

                             |                   |09Г2С-12      |ГОСТ 19281

                             |                   |17Г1С         |ГОСТ 19281

-----------------------------+-------------------+--------------+----------

 3. Корпуса и крышки         |Литые              |СЧ15          |ГОСТ 1412

редукторов, крышки букс      |                   |Отливка 25Л-II|ГОСТ 977

ходовых колес                +-------------------+--------------+----------

                             |Сварные, из проката|Ст3сп         |ГОСТ 380

                             |                   |09Г2-12       |ГОСТ 19281

                             |                   |09Г2С-12      |ГОСТ 19281

                             |                   |17Г1С         |ГОСТ 19281

-----------------------------+-------------------+--------------+----------

 4. Буксы ходовых колес      |Литые              |Отливка 45Л-II|ГОСТ 977

                             +-------------------+--------------+----------

                             |Штампованные,      |Сталь 35      |ГОСТ 1050

                             |кованые            |Сталь 20      |ГОСТ 1050

-----------------------------+-------------------+--------------+----------

 5. Шкивы тормозные          |Литые              |Отливка 45Л-II|ГОСТ 977

                             +-------------------+--------------+----------

                             |Штампованные,      |Сталь 45      |ГОСТ 1050

                             |кованые, из проката|              |
-----------------------------+-------------------+--------------+----------

 6. Зубчатые колеса,         |Литые              |Отливка 45Л-II|ГОСТ 977

шестерни, рейки              +-------------------+--------------+----------

                             |Штампованные,      |Сталь 45      |ГОСТ 1050

                             |кованые, из проката|Сталь 40Х     |ГОСТ 4543

                             |                   |Сталь 40ХН    |ГОСТ 4543

-----------------------------+-------------------+--------------+----------

 7. Валы и оси               |Штампованные,      |Сталь 35      |ГОСТ 1050

                             |кованые, из проката|Сталь 45      |ГОСТ 1050

                             |                   |Сталь 40Х     |ГОСТ 4543

                             |                   |Сталь 40ХН    |ГОСТ 4543

                             |                   |Сталь 30ХГТ   |ГОСТ 4543

-----------------------------+-------------------+--------------+----------

 8. Упругий элемент          |Из проката         |Сталь 60С2    |ГОСТ 14959

ограничителя грузоподъемности|                   |              |
-----------------------------+-------------------+--------------+----------

 9. Катки и направляющие     |Литые              |Отливка 45Л-II|ГОСТ 977

ролики                       +-------------------+--------------+----------

                             |Штампованные,      |Сталь 45      |ГОСТ 1050

                             |кованые, катаные,  |              |
                             |из проката         |              |
-----------------------------+-------------------+--------------+----------

 10. Клинья ловителей        |Кованые, из проката|Сталь 15      |ГОСТ 1050

                             |                   |Сталь 20      |ГОСТ 1050

-----------------------------+-------------------+--------------+----------

 11. Опоры поворотные        |Литые              |Сталь 50Л-II  |ГОСТ 977

                             +-------------------+--------------+----------

                             |Из проката         |Сталь 45      |ГОСТ 1050

-----------------------------+-------------------+--------------+----------

 12. Вилы                    |Кованые из проката |Сталь 40Г     |ГОСТ 4543

                             |                   |Сталь 50Г-а   |ГОСТ 4543

                             |                   |Сталь 10ХСНД  |ГОСТ 4543

                             +-------------------+--------------+----------

                             |Сварные из проката |09Г2С-12      |ГОСТ 19281

-----------------------------+-------------------+--------------+----------

 13. Металлоконструкции      |Из проката         | Стали по СНиП II-23, как

                             |                   |для конструкций I группы

 

Приложение 2

Справочное

 

РЕКОМЕНДУЕМЫЙ АССОРТИМЕНТ СМАЗОЧНЫХ МАТЕРИАЛОВ, ПРИМЕНЯЕМЫХ

В ЗАВИСИМОСТИ ОТ ТЕМПЕРАТУРНЫХ УСЛОВИЙ ЭКСПЛУАТАЦИИ

В РАЙОНАХ С УМЕРЕННЫМ И ТРОПИЧЕСКИМ КЛИМАТОМ

 

Таблица 8

 

---------------------+------------------+-----------+----------------------

Ассортимент смазочных| Номер стандарта  |Температура|  Область применения

     материалов      |      или ТУ      |окружающей |
                     |                  |среды при  |
                     |                  |эксплуата- |
                     |                  |ции, °C    |
---------------------+------------------+-----------+----------------------

 1. ИРп-150          |ТУ 38.101451      |плюс 45 -  | Редукторы с зубчатыми

                     |                  |   минус 10|передачами <**>

---------------------+------------------+-----------+

 2. ТАП-15В          |ГОСТ 23652        |плюс 40 -  |
                     |                  |   минус 40|
---------------------+------------------+-----------+

 3. ИГП-152          |ТУ 38.101413      |плюс 45 -  |
                     |                  |   минус 10|
---------------------+------------------+-----------+

 4. ТСп-10           |ГОСТ 23652        |плюс 25 -  |
                     |                  |   минус 40|
---------------------+------------------+-----------+

 5. Трансол-200 <*>  |ТУ 38 УССР 201352 |плюс 40 -  |
                     |                  |   минус 40|
---------------------+------------------+-----------+----------------------

 6. ИГП-114          |ТУ 38.101413      |плюс 45 -  | Редукторы червячные

                     |                  |   минус 10|<**>

---------------------+------------------+-----------+

 7. ИГП-152          |ТУ 38.101413      |плюс 45 -  |
                     |                  |   минус 10|
---------------------+------------------+-----------+

 8. АС3п-6           |ОСТ 38.01.370     |плюс 25 -  |
                     |                  |   минус 40|
---------------------+------------------+-----------+----------------------

 9. Литол-24         |ГОСТ 21150        |плюс 45 -  | Шарниры, подшипники

                     |                  |   минус 40|скольжения, трущиеся

---------------------+------------------+-----------+поверхности

 10. ЦИАТИМ-201      |ГОСТ 6267         |плюс 45 -  |
                     |                  |   минус 40|
---------------------+------------------+-----------+----------------------

 11. ВНИИ НП-246     |ГОСТ 18952        |плюс 45 -  | Подшипники качения,

                     |                  |   минус 40|открытые зубчатые

---------------------+------------------+-----------+зацепления

 12. ВНИИ НП-279     |ГОСТ 14296        |плюс 45 -  |
                     |                  |   минус 40|
 13. УСсА            |ГОСТ 3333         |плюс 45 -  |
                     |                  |   минус 40|
---------------------+------------------+-----------+----------------------

 14. Торсиол-35Э     |ТУ 38 УССР 2012-14|плюс 45 -  | Канаты всех типов

                     |                  |   минус 40|
---------------------+------------------+-----------+

 15. БОЗ1            |ТУ 39-9-157       |плюс 45 -  |
                     |                  |   минус 40|
---------------------+------------------+-----------+----------------------

 16. Масло веретенное|По НД             |плюс 45 -  | Электрогидравлические

гидравлическое       |                  |   минус 45|толкатели тормозов

                     |                  |           |<**>

 

--------------------------------

<*> Для редукторов механизмов передвижений кранов-штабелеров исполнения ОП.

<**> Для покупных изделий - в соответствии с паспортом на изделие.

 

 

Приложение 3

Справочное

 

РЕКОМЕНДУЕМЫЙ АССОРТИМЕНТ КОНСЕРВАЦИОННЫХ МАТЕРИАЛОВ,

ПРИМЕНЯЕМЫХ НЕЗАВИСИМО ОТ КЛИМАТИЧЕСКИХ РАЙОНОВ

 

Таблица 9

 

--------------------+---------------+--------------------------------------

    Ассортимент     |Номер стандарта|          Область применения

  консервационных   |               |
     материалов     |               |
--------------------+---------------+--------------------------------------

1. НГ-204у          |ГОСТ 18974 <*> |Для наружных и внутренних поверхностей

--------------------+---------------+--------------------------------------

2. АМС-3            |ГОСТ 2712      |Для электротехнических изделий

 

--------------------------------

<*> Отменен с 1 июля 1988 г. (ИУС 6-88).

 

Приложение 4

Справочное

 

РЕКОМЕНДУЕМЫЕ ТИПЫ ЛАКОКРАСОЧНЫХ ПОКРЫТИЙ И ГРУНТОВОК,

ПРИМЕНЯЕМЫХ В ЗАВИСИМОСТИ ОТ КЛИМАТИЧЕСКОГО ИСПОЛНЕНИЯ

КРАНОВ-ШТАБЕЛЕРОВ И УСЛОВИЙ ЭКСПЛУАТАЦИИ ПОКРЫТИЙ

 

Таблица 10

 

------------------+-------------+------------------------------------------

  Климатическое   | Обозначение |   Тип лакокрасочных покрытий и грунтовок

    исполнение    |   условий   +--------------------+---------------------

   и категория    |эксплуатации |       Эмаль        |       Грунтовка

размещения изделия|  покрытий   |                    |
  по ГОСТ 15150   |по ГОСТ 9.104|                    |
------------------+-------------+--------------------+---------------------

        У2        |     У2      |НЦ-132 по ГОСТ 6631 |ГФ-0119 по ГОСТ 23343

        У3        |     У3      |                    |ГФ-021 по ГОСТ 25129

------------------+-------------+--------------------+---------------------

        У2        |     У2      |ХВ-110 по ГОСТ 18374|ФЛ-03к по ГОСТ 9109

        У3        |     У3      |                    |ВЛ-02 по ГОСТ 12707

        Т3        |     Т3      |                    |

 

ГОСТ 28434-90 Краны-штабелеры мостовые. Общие технические условия

 

СКЛАД ЗАКОНОВ

 

 

  Яндекс цитирования