СКЛАД ЗАКОНОВ

    

СКЛАД ЗАКОНОВ. Главная тема
16+

СКЛАД ЗАКРЫТ

#вируспруденция обнулила вообще всё!

 

Реклама на сайте                   

 

 

ГОСТ 33992-2016 Автомобили легковые. Системы очистки ветрового стекла от обледенения и запотевания. Технические требования и методы испытаний

 

МЕЖГОСУДАРСТВЕННЫЙ СТАНДАРТ

 

АВТОМОБИЛИ ЛЕГКОВЫЕ

 

СИСТЕМЫ ОЧИСТКИ ВЕТРОВОГО СТЕКЛА ОТ ОБЛЕДЕНЕНИЯ

И ЗАПОТЕВАНИЯ

 

ТЕХНИЧЕСКИЕ ТРЕБОВАНИЯ И МЕТОДЫ ИСПЫТАНИЙ

 

Passenger cars. Windscreen defrosting and demisting systems.

Technical requirements and test methods

 

ГОСТ 33992-2016

 

МКС 43.040.60

 

Дата введения

1 февраля 2018 года

 

Предисловие

 

Цели, основные принципы и основной порядок проведения работ по межгосударственной стандартизации установлены в ГОСТ 1.0-2015 "Межгосударственная система стандартизации. Основные положения" и ГОСТ 1.2-2015 "Межгосударственная система стандартизации. Стандарты межгосударственные, правила и рекомендации по межгосударственной стандартизации. Правила разработки, принятия, обновления и отмены"

 

Сведения о стандарте

 

1 РАЗРАБОТАН Федеральным государственным унитарным предприятием "Всероссийский научно-исследовательский институт стандартизации и сертификации в машиностроении" (ВНИИНМАШ)

2 ВНЕСЕН Межгосударственным техническим комитетом по стандартизации МТК 56 "Дорожный транспорт"

3 ПРИНЯТ Межгосударственным советом по стандартизации, метрологии и сертификации (протокол от 25 октября 2016 г. N 92-П)

За принятие проголосовали:

 

Краткое наименование страны по МК (ИСО 3166) 004-97

Код страны по МК (ИСО 3166) 004-97

Сокращенное наименование национального органа по стандартизации

Армения

AM

Минэкономики Республики Армения

Беларусь

BY

Госстандарт Республики Беларусь

Грузия

GE

Грузстандарт

Киргизия

KG

Кыргызстандарт

Россия

RU

Росстандарт

Таджикистан

TJ

Таджикстандарт

Узбекистан

UZ

Узбекстандарт

Украина

UA

Минэкономразвития Украины

 

4 Приказом Федерального агентства по техническому регулированию и метрологии от 15 июня 2017 г. N 550-ст межгосударственный стандарт ГОСТ 33992-2016 введен в действие в качестве национального стандарта Российской Федерации с 1 февраля 2018 г.

5 ВВЕДЕН ВПЕРВЫЕ

 

Информация об изменениях к настоящему стандарту публикуется в ежегодном информационном указателе "Национальные стандарты" (по состоянию на 1 января текущего года), а текст изменений и поправок - в ежемесячном информационном указателе "Национальные стандарты". В случае пересмотра (замены) или отмены настоящего стандарта соответствующее уведомление будет опубликовано в ежемесячном информационном указателе "Национальные стандарты". Соответствующая информация, уведомление и тексты размещаются также в информационной системе общего пользования - на официальном сайте Федерального агентства по техническому регулированию и метрологии в сети Интернет

 

1. Область применения

 

Настоящий стандарт распространяется на транспортные средства категории М1 по [1].

 

2. Термины и определения

 

В настоящем стандарте применены следующие термины с соответствующими определениями:

2.1 обледенение: Слой инея и (или) льда на наружной поверхности ветрового стекла.

2.2 запотевание: Конденсация влаги на внутренней поверхности стекла.

2.3 система очистки ветрового стекла от обледенения: Система, предназначенная для растапливания инея или льда на наружной поверхности ветрового стекла.

2.4 зона, очищенная от обледенения: Область наружной поверхности ветрового стекла, сухая или покрытая растаявшим (частично растаявшим) инеем, который может быть удален с помощью стеклоочистителя.

2.5 система очистки ветрового стекла от запотевания: Система, предназначенная для удаления конденсата с внутренней поверхности ветрового стекла.

2.6 зона, очищенная от запотевания: Область внутренней поверхности ветрового стекла, с которой удалены любые капли или следы сконденсированной влаги в процессе нормального функционирования системы очистки от запотевания.

2.7 тип транспортного средства в отношении системы очистки ветрового стекла от обледенения и запотевания: Транспортные средства, не имеющие отличий в характеристиках систем очистки ветрового стекла от обледенения и запотевания, внешних и внутренних формах кузова в пределах 180° переднего поля обзора, в количестве посадочных мест, а также в форме, толщине, размерах и характеристиках ветрового стекла и в способе его монтажа.

2.8 бортовая электронная система: Система, предназначенная для управления двигателем, а также прочими системами, предназначенными для нормального или аварийного функционирования транспортного средства.

2.9 главное коммутационное устройство транспортного средства: Устройство, посредством которого бортовая электронная система переводится из выключенного состояния, соответствующего стоянке транспортного средства без водителя на борту, в состояние для нормальной работы и обратно.

Примечание - Функцию главного коммутационного устройства может выполнять замок зажигания или система бесключевого доступа/запуска.

 

3. Технические требования

 

3.1 Система очистки ветрового стекла от обледенения

3.1.1 Каждое транспортное средство должно быть оснащено системой очистки ветрового стекла от обледенения. Система должна быть эффективной, чтобы обеспечить достаточную видимость через ветровое стекло в холодную погоду.

3.1.2 Эффективность системы очистки ветрового стекла от обледенения следует проверять периодическим определением зоны ветрового стекла, очищенной от обледенения, проводимым после начала испытаний на транспортном средстве, находящемся в холодильной камере в течение определенного периода времени.

3.1.3 Требования, изложенные в 3.1.1 и 3.1.2, проверяют согласно 4.1.

3.1.4 Должны быть выполнены следующие требования:

3.1.4.1 Через 20 мин после начала испытаний зона A, размеры и расположение которой определяют в соответствии с приложением 18 к [2], должна быть очищена на 80%.

3.1.4.2 Через 25 мин после начала испытаний зона на стороне пассажира, очищенная от обледенения, должна быть сравнима по площади с зоной, описанной в 3.1.4.1.

3.1.4.3 Через 40 мин после начала испытаний зона B, размеры и расположение которой определяют в соответствии с приложением 18 к [2], должна быть очищена на 95%.

3.2 Система очистки ветрового стекла от запотевания

3.2.1 Каждое транспортное средство должно быть оснащено системой для удаления сконденсированной влаги с внутренней поверхности стекла.

3.2.2 Система очистки ветрового стекла от запотевания должна быть достаточно эффективна для восстановления видимости через ветровое стекло при повышенной влажности окружающего воздуха. Эффективность системы проверяют с использованием метода, изложенного в 4.2.

3.2.3 Должны быть выполнены следующие требования:

3.2.3.1 Зона A, размеры и расположение которой определяют в соответствии с приложением 18 к [2], должна быть очищена от запотевания на 90% в течение 10 мин после начала испытаний.

3.2.3.2 Зона B, размеры и расположение которой определяют в соответствии с приложением 18 к [2], должна быть очищена от запотевания на 80% в течение 10 мин после начала испытаний.

3.3 Испытания систем очистки ветрового стекла от обледенения и запотевания могут не проводиться повторно на транспортных средствах, которые не отличаются друг от друга в отношении следующих существенных признаков, определяющих показатели систем очистки ветрового стекла от обледенения и от запотевания:

- форма, размеры и характеристики поверхности ветрового стекла;

- характеристики каждой из систем, определенные изготовителем как ключевые для выполнения функций очистки от обледенения и от запотевания;

- число сидений, установленное изготовителем транспортного средства.

 

4. Методы испытаний

 

4.1 Очистка ветрового стекла от обледенения

4.1.1 Испытания проводят при одной из температур, по выбору изготовителя транспортного средства: минус (8 +/- 2) °C или минус (18 +/- 3) °C.

4.1.2 Испытания проводят в холодильной камере, достаточно большой для размещения транспортного средства и оборудованной для поддержания одной из температур, указанных в 4.1.1, на протяжении всего испытания, а также для циркуляции холодного воздуха. Камера должна быть выдержана при указанных в 4.1.1 или более низких температурах не менее 24 ч до момента, когда транспортное средство начинает подвергаться охлаждению перед испытаниями.

4.1.3 Перед началом испытаний внутренняя и внешняя поверхности ветрового стекла должны быть полностью обезжирены путем протирания этиловым спиртом или эквивалентным средством. После высыхания стекла его поверхности протирают раствором аммиака концентрацией не менее 3% и не более 10%. После повторного высыхания поверхностей стекла их протирают сухой хлопчатобумажной безворсовой тканью.

4.1.4 Транспортное средство выдерживают в условиях испытательной температуры не менее 10 ч с неработающим двигателем.

Если имеются в наличии приборы, позволяющие определить, что температура охлаждающей жидкости и масла в двигателе стабилизировалась на уровне испытательной температуры, период с неработающим двигателем может быть сокращен.

4.1.5 После охлаждения в соответствии с 4.1.4 на наружную поверхность ветрового стекла намораживают равномерный слой льда толщиной, характеризуемой показателем 0,044 г/см2, с помощью распылителя, работающего под давлением (350 +/- 20) кПа.

4.1.5.1 Форсунку распылителя, настроенную на образование конического факела распыления и максимальную подачу, располагают на расстоянии 200 - 250 мм перпендикулярно к поверхности ветрового стекла и перемещают таким образом, чтобы формировать равномерный слой льда на всей его площади.

4.1.5.2 Для соответствия требованиям, изложенным в 4.1.5, может быть использован распылитель с форсункой диаметром 1,7 мм, обеспечивающий подачу 0,395 дм3/мин в виде конического факела распыления диаметром 300 мм на поверхности стекла с расстояния 200 мм от нее. Может быть также использовано любое другое устройство, позволяющее выполнить те же требования.

4.1.6 После того как слой льда будет сформирован на ветровом стекле, транспортное средство выдерживают в холодильной камере не менее 30 мин и не более 40 мин.

4.1.7 Все аккумуляторные батареи должны быть полностью заряжены.

4.1.8 Напряжение на клеммах системы очистки ветрового стекла от обледенения не должно превышать номинальное напряжение в сети транспортного средства более чем на 20%.

4.1.9 В случае если транспортное средство оснащено такими устройствами как электрообогрев заднего стекла, электроподогрев сидений, дополнительный электрический отопитель салона, автономный отопитель/подогреватель на жидком топливе, эти устройства должны быть приведены в действие.

4.1.10 В случае если транспортное средство оснащено аккумулятором тепловой энергии, он должен быть полностью заряжен перед испытаниями и переведен в режим выделения тепла во время испытаний в соответствии с инструкцией изготовителя транспортного средства.

4.1.11 В случае если транспортное средство оснащено дополнительным насосом в системе циркуляции охлаждающей жидкости, он должен работать в режиме, предусмотренном изготовителем транспортного средства для скорости движения до 40 км/ч.

4.1.12 После завершения процедуры, описанной в 4.1.6, один или два наблюдателя садятся в транспортное средство, приводят главное коммутационное устройство во включенное положение и запускают двигатель, при необходимости с использованием какого-либо внешнего устройства. Продолжительность испытаний отсчитывают от активации главного коммутационного устройства.

Примечание - Понятие "двигатель" включает в себя как двигатель внутреннего сгорания, так и двигатели иного типа, например электромотор.

 

4.1.13 В случае двигателя внутреннего сгорания в течение первых 5 мин испытаний частота вращения двигателя может выдерживаться в пределах, которые рекомендует изготовитель транспортного средства для запуска в холодную погоду.

4.1.14 В течение последующих 35 мин испытаний (или на протяжении всего периода испытаний в случае, если в течение 5 мин не применялась процедура прогрева) двигатель (в случае двигателя внутреннего сгорания) должен работать с частотой вращения, не превышающей 50% оборотов максимальной мощности. Однако если будет доказано, что выполнение данного условия не совместимо со стратегией управления двигателем, например в случае гибридного транспортного средства с электроприводом, должны быть определены реальные условия функционирования, учитывающие диапазон частоты вращения двигателя, периодическое или полное отключение двигателя при нормальном режиме движения при температурах окружающей среды минус (8 +/- 2) °C или минус (18 +/- 3) °C по выбору изготовителя транспортного средства. Если система очистки ветрового стекла может обеспечить выполнение требований при неработающем двигателе, испытания проводят именно в таких условиях.

4.1.15 Температуру в испытательной камере измеряют на уровне центра ветрового стекла в точке, где воздействие тепла от транспортного средства при испытаниях минимально.

4.1.16 Горизонтальная составляющая скорости холодного воздуха, циркулирующего в камере, измеренная непосредственно перед началом испытаний в средней продольной плоскости транспортного средства в точке, находящейся на расстоянии 300 мм вперед от нижней кромки ветрового стекла и примерно посередине между его верхней и нижней кромками, должна быть минимальна и в любом случае не должна превышать 8 км/ч.

4.1.17 Капот (при его наличии), двери и другие проемы, кроме отверстий входа и выхода системы отопления и вентиляции, должны быть закрыты; одно или два стекла двери могут быть опущены не более чем на 25 мм, если это предписано изготовителем транспортного средства.

4.1.18 Орган управления системой очистки ветрового стекла от обледенения переводят в положение, рекомендуемое изготовителем транспортного средства для выбранной температуры испытаний.

4.1.19 Система очистки ветрового стекла может использоваться в течение испытаний в случае, если ее работа не требует вмешательства оператора, иного, чем воздействие на орган его управления в салоне транспортного средства.

4.1.20 Наблюдатели отмечают контуры зоны, очищенной от обледенения на внутренней поверхности ветрового стекла, последовательно через каждые 5 мин после начала испытаний, используя для этой цели например, восковой карандаш.

4.1.21 По завершении испытаний форму и размеры зоны, очищенной от обледенения, как предписано в 4.1.20, копируют на кальку и заносят в протокол с идентификацией водительской стороны и зон A и B. Подсчет норм выполнения степени очистки может быть выполнен любым способом, обеспечивающим точность 1%.

4.1.22 Испытания не проводят повторно на транспортных средствах, которые относятся к одному типу транспортного средства в отношении системы очистки ветрового стекла от обледенения и запотевания.

4.2 Устранение запотевания ветрового стекла

4.2.1 Перед началом испытаний внутреннюю поверхность ветрового стекла полностью обезжиривают путем протирания этиловым спиртом или эквивалентным средством. После высыхания стекла протирают его поверхность раствором аммиака концентрацией не менее 3% и не более 10%. После повторного высыхания поверхности стекла ее протирают сухой хлопчатобумажной безворсовой тканью.

4.2.2 Испытания проводят в климатической камере, достаточно большой для размещения транспортного средства и оборудованной для поддержания температуры минус (3 +/- 1) °C в течение всего испытания.

4.2.2.1 Температуру в испытательной камере измеряют на уровне центра ветрового стекла в точке, где воздействие тепла от транспортного средства при испытаниях минимально.

4.2.2.2 Горизонтальная составляющая скорости холодного воздуха, циркулирующего в камере, измеренная непосредственно перед началом испытаний в средней продольной плоскости транспортного средства в точке, находящейся на расстоянии 300 мм вперед от нижней кромки ветрового стекла и примерно посередине между его верхней и нижней кромками, должна быть минимальна и в любом случае не должна превышать 8 км/ч.

4.2.2.3 Капот двигателя (при его наличии), двери, дверные стекла и другие отверстия, кроме отверстий входа и выхода системы отопления и вентиляции, должны быть закрыты в течение периода генерации пара; одно или два стекла двери могут быть опущены не более чем на 25 мм, если это предписано изготовителем транспортного средства.

4.2.3 Запотевание внутренней поверхности ветрового стекла создают генератором пара, описание которого приведено в приложении А. Генератор должен содержать объем воды, достаточный для производства по крайней мере (70 +/- 5) г/ч пара в расчете на каждое сиденье, предусмотренное изготовителем транспортного средства, при температуре окружающего воздуха минус (3 +/- 1) °C.

4.2.4 Внутреннюю поверхность стекла очищают, как указано в 4.2.1, сразу после помещения транспортного средства в климатическую камеру. Температура окружающего воздуха должна понижаться до тех пор, пока температура охлаждающей жидкости, масла и воздуха внутри транспортного средства не стабилизируется на уровне минус (3 +/- 1) °C. Транспортное средство выдерживают в условиях испытательной температуры не менее 10 ч с неработающим двигателем.

Если имеются в наличии приборы, позволяющие определить, что температура охлаждающей жидкости и масла в двигателе стабилизировалась на уровне испытательной температуры, период с неработающим двигателем может быть сокращен.

4.2.5 Генератор пара с его выходными соплами располагают таким образом, чтобы выход пара находился в средней продольной плоскости транспортного средства на высоте (580 +/- 80) мм выше точки R <*> водительского сиденья. Обычно его располагают непосредственно за спинками передних сидений. Сиденья должны быть установлены в положение, рекомендуемое изготовителем транспортного средства, с заданным углом наклона спинки. Если конструкция транспортного средства препятствует такому расположению, генератор может быть помещен перед спинками передних сидений в положении, наиболее близком к описанному выше.

--------------------------------

<*> Точка R (контрольная точка сиденья) - конструктивно заданная изготовителем точка, привязанная к трехмерной координатной системе транспортного средства.

 

4.2.6 После того как генератор проработает 5 мин внутри транспортного средства, один или два наблюдателя должны быстро сесть на передние сиденья транспортного средства, при этом открытие любой из дверей транспортного средства не должно длиться более 8 с. После этого производительность генератора уменьшают из расчета (70 +/- 5) г/ч на каждого наблюдателя.

4.2.7 Через 1 мин после того как наблюдатели займут места в транспортном средстве, приводят главное коммутационное устройство во включенное положение и запускают двигатель, при необходимости с использованием какого-либо внешнего устройства. Продолжительность испытаний отсчитывают от активации главного коммутационного устройства.

4.2.8 На протяжении всего испытания двигатель (в случае двигателя внутреннего сгорания) должен работать с частотой вращения вала, не превышающей 50% оборотов максимальной мощности. Однако если будет доказано, что выполнение данного условия не совместимо со стратегией управления двигателем, например в случае гибридного транспортного средства с электроприводом, должны быть определены реальные условия функционирования, учитывающие диапазон частоты вращения двигателя, периодическое или полное отключение двигателя при нормальном режиме движения при температуре окружающей среды минус 1 °C. Если система очистки ветрового стекла от запотевания может обеспечить выполнение требований при неработающем двигателе, испытания проводят именно в таких условиях.

4.2.9 Орган управления системой очистки ветрового стекла от запотевания должен быть переведен в положение, рекомендуемое изготовителем транспортного средства для температуры испытаний.

4.2.10 Все аккумуляторные батареи должны быть полностью заряжены перед началом испытаний.

4.2.11 Напряжение на клеммах системы очистки ветрового стекла от запотевания не должно превышать номинальное напряжение в сети транспортного средства более чем на 20%.

4.2.12 В случае если транспортное средство оснащено такими устройствами как электрообогрев заднего стекла, электроподогрев сидений, дополнительный электрический отопитель салона, автономный отопитель/подогреватель на жидком топливе, эти устройства должны быть приведены в действие.

4.2.13 В случае если транспортное средство оснащено аккумулятором тепловой энергии, он должен быть полностью заряжен перед испытаниями и переведен в режим выделения тепла во время испытаний в соответствии с инструкцией изготовителя транспортного средства.

4.2.14 В случае если транспортное средство оснащено дополнительным насосом в системе циркуляции охлаждающей жидкости, он должен работать в режиме, предусмотренном изготовителем транспортного средства для скорости движения до 40 км/ч.

4.2.15 По завершении испытаний форму и размеры зоны, очищенной от запотевания, копируют на кальку и заносят в протокол с идентификацией водительской стороны и зон A и B. Подсчет норм выполнения степени очистки может быть выполнен любым способом, обеспечивающим точность 1%.

4.2.16 Испытания не проводят повторно на транспортных средствах, которые относятся к одному типу транспортного средства в отношении системы очистки ветрового стекла от обледенения и запотевания.

 

Приложение А

(рекомендуемое)

 

ГЕНЕРАТОР ПАРА

 

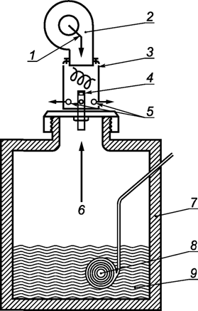
А.1 Генератор пара, используемый для испытания, должен иметь следующие характеристики:

- вместимость резервуара для воды не менее 2,25 л;

- тепловые потери при температуре кипения - не более 75 Вт при температуре окружающего воздуха минус (3 +/- 1) °C;

- производительность вентилятора - от 0,07 до 0,1 м3/мин при статическом давлении 0,05 кН/м3;

- шесть выходных отверстий для пара должны быть расположены в верхней части генератора пара по периметру на одинаковом расстоянии друг от друга (см. рисунок А.1);

- рекомендуемая мощность нагревательного элемента - 700 - 800 Вт.

 

 

1 - поступающий воздух; 2 - центробежный вентилятор;

3 - дисперсная камера; 4 - сопло; 5 - пар с воздухом;

6 - пар; 7 - изолированный контейнер; 8 - нагревательный

элемент; 9 - вода

 

Рисунок А.1 - Схема генератора пара

 

А.2 Генератор пара должен быть откалиброван взвешиванием с водой до и после 1 ч работы при температуре окружающего воздуха минус (3 +/- 1) °C. При калибровке должно быть выделено число делений в соответствии с числом посадочных мест, определенным изготовителем транспортного средства. Для получения соответствующей производительности генератор пара должен быть оснащен регулирующим устройством. Результаты регулирования должны быть представлены в виде графика или таблицы, где должны быть указаны выход пара и потребляемая мощность.

А.3 Размеры генератора пара и материалы его деталей - по таблице А.1.

 

Таблица А.1

 

Размеры генератора пара и материалы его деталей

 

Элемент генератора

Параметры

Значение, мм

Материал

Сопло

Длина

100

Латунь или иной металл, не подверженный коррозии

Внутренний диаметр

15

Высота над дном дисперсионной камеры

46

Дисперсионная (испарительная) камера

Длина

115

Внутренний диаметр

75

Толщина стенок

3,8

Диаметр отверстия

6,3

Число отверстий, равномерно расположенных по периметру

6

Высота расположения отверстия над дном дисперсионной камеры

25

 

 

БИБЛИОГРАФИЯ

 

[1] ECE/TRANS/WP.29/78/Rev.2/Amend.3 Сводная резолюция о конструкции транспортных средств (СР.3)

[2] E/ECE/324/Rev.2/...

E/ECE/TRANS/505/Rev.2/...

E/ECE/324/Rev.2/Add.42/... -

E/ECE/TRANS/505/Rev.3/Add.42/... Единообразные предписания, касающиеся официального утверждения безопасных стекловых материалов и их установки на транспортном средстве (Правила ООН N 43)

 

ГОСТ 33992-2016 Автомобили легковые. Системы очистки ветрового стекла от обледенения и запотевания. Технические требования и методы испытаний

 

СКЛАД ЗАКОНОВ

 

 

  Яндекс цитирования