СКЛАД ЗАКОНОВ

    

СКЛАД ЗАКОНОВ. Главная тема
16+

СКЛАД ЗАКРЫТ

#вируспруденция обнулила вообще всё!

 

Реклама на сайте                   

 

 

ГОСТ Р 52923-2008 Автомобильные транспортные средства. Шарниры карданные неравных угловых скоростей. Общие технические требования и методы испытаний

 

НАЦИОНАЛЬНЫЙ СТАНДАРТ РОССИЙСКОЙ ФЕДЕРАЦИИ

 

АВТОМОБИЛЬНЫЕ ТРАНСПОРТНЫЕ СРЕДСТВА

 

ШАРНИРЫ КАРДАННЫЕ НЕРАВНЫХ УГЛОВЫХ СКОРОСТЕЙ

 

ОБЩИЕ ТЕХНИЧЕСКИЕ ТРЕБОВАНИЯ И МЕТОДЫ ИСПЫТАНИЙ

 

Vehicles. Unconstant angular velocity cardan joints.

General technical requirements and test methods

 

ГОСТ Р 52923-2008

 

Группа Д25

 

ОКС 43.040.50

 

ОКП 45 0000

 

Дата введения

1 января 2009 года

 

Предисловие

 

Цели и принципы стандартизации в Российской Федерации установлены Федеральным законом от 27 декабря 2002 г. N 184-ФЗ "О техническом регулировании", а правила применения национальных стандартов Российской Федерации - ГОСТ Р 1.0-2004 "Стандартизация в Российской Федерации. Основные положения".

 

Сведения о стандарте

 

1. Разработан Федеральным государственным унитарным предприятием "Центральный ордена Трудового Красного Знамени научно-исследовательский автомобильный и автомоторный институт" (ФГУП "НАМИ").

2. Внесен Техническим комитетом по стандартизации ТК 56 "Дорожный транспорт".

3. Утвержден и введен в действие Приказом Федерального агентства по техническому регулированию и метрологии от 5 июня 2008 г. N 116-ст.

4. Введен впервые.

 

Информация об изменениях к настоящему стандарту публикуется в ежегодно издаваемом информационном указателе "Национальные стандарты", а текст изменений и поправок - в ежемесячно издаваемых информационных указателях "Национальные стандарты". В случае пересмотра (замены) или отмены настоящего стандарта соответствующее уведомление будет опубликовано в ежемесячно издаваемом информационном указателе "Национальные стандарты". Соответствующая информация, уведомления и тексты размещаются также в информационной системе общего пользования - на официальном сайте Федерального агентства по техническому регулированию и метрологии в сети Интернет.

 

1. Область применения

 

Настоящий стандарт распространяется на карданные шарниры неравных угловых скоростей (далее - шарниры) и их элементы, предназначенные для трансмиссий автомобильных транспортных средств (далее - АТС) категорий M и N по ГОСТ Р 52051, и устанавливает типы, параметры шарниров и их элементов, технические требования к ним, методы контроля и испытаний.

Настоящий стандарт может распространяться также на шарниры и их элементы других транспортных средств, машин и механизмов.

 

2. Нормативные ссылки

 

В настоящем стандарте использованы нормативные ссылки на следующие стандарты:

ГОСТ Р 52051-2003. Механические транспортные средства и прицепы. Классификация и определения

ГОСТ Р 52430-2005. Автомобильные транспортные средства. Передачи карданные автомобилей с шарнирами неравных угловых скоростей. Общие технические условия

ГОСТ 8.051-81. Государственная система измерений. Погрешности, допускаемые при измерении линейных размеров до 500 мм

ГОСТ 9.014-78. Единая система защиты от коррозии и старения. Временная противокоррозионная защита изделий. Общие требования

ГОСТ 2789-73. Шероховатость поверхности. Параметры и характеристики

ГОСТ 15150-69. Машины, приборы и другие технические изделия. Исполнения для различных климатических районов. Категории, условия эксплуатации, хранения и транспортирования в части воздействия климатических факторов внешней среды.

Примечание. При пользовании настоящим стандартом целесообразно проверить действие ссылочных стандартов в информационной системе общего пользования - на официальном сайте Федерального агентства по техническому регулированию и метрологии в сети Интернет или по ежегодно издаваемому информационному указателю "Национальные стандарты", который опубликован по состоянию на 1 января текущего года, и по соответствующим ежемесячно издаваемым информационным указателям, опубликованным в текущем году. Если ссылочный стандарт заменен (изменен), то при пользовании настоящим стандартом следует руководствоваться заменяющим (измененным) стандартом. Если ссылочный стандарт отменен без замены, то положение, в котором дана ссылка на него, применяется в части, не затрагивающей эту ссылку.

 

3. Типы, основные параметры

 

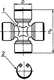
3.1. Типы шарниров и их основные параметры должны соответствовать данным, приведенным на рисунках 1, 2 и 3 и в таблице 1.

 

ГОСТ Р 52923-2008 Автомобильные транспортные средства. Шарниры карданные неравных угловых скоростей. Общие технические требования и методы испытаний

 

Рисунок 1. Крестовина карданного шарнира

 

Тип 1

 

ГОСТ Р 52923-2008 Автомобильные транспортные средства. Шарниры карданные неравных угловых скоростей. Общие технические требования и методы испытаний

 

Тип 2

 

ГОСТ Р 52923-2008 Автомобильные транспортные средства. Шарниры карданные неравных угловых скоростей. Общие технические требования и методы испытаний

 

Тип 3

 

ГОСТ Р 52923-2008 Автомобильные транспортные средства. Шарниры карданные неравных угловых скоростей. Общие технические требования и методы испытаний

 

1 - крестовина; 2 - стопорное кольцо; 3 - пластина

 

Рисунок 2. Типы крестовин карданных шарниров

с подшипниками в сборе и элементы их крепления

 

ГОСТ Р 52923-2008 Автомобильные транспортные средства. Шарниры карданные неравных угловых скоростей. Общие технические требования и методы испытаний

 

Рисунок 3. Вилка карданного шарнира

 

Таблица 1

 

Основные размеры крестовин

и вилок шарниров карданных валов

 

                                                      Размеры в миллиметрах

+---+---+---------------------------------------------+-------------------------------------------------------------------+

¦Тип¦Ряд¦                 Крестовины                  ¦                            Вилки шарниров                         ¦
¦   ¦   +---------------------------+-----------------+-------------------------------------+-------------+---------------+

¦   ¦   ¦      без подшипников      ¦ с подшипниками  ¦ Размер между опорными поверхностями ¦Диаметр      ¦ Расстояние от ¦
¦   ¦   ¦                           ¦                 ¦                вилок                ¦отверстия    ¦оси отверстия  ¦
¦   ¦   ¦                           ¦                 ¦                                     ¦под подшипник¦ D  до фланца  ¦
¦   ¦   ¦                           ¦                 ¦                                     ¦             ¦  1            ¦
¦   ¦   +-------------+-------------+-----+------+----+------------+-----------+------------+-------------+---------------+

¦   ¦   ¦     d       ¦      H      ¦  D  ¦  H   ¦ F  ¦     H      ¦    H'     ¦     H      ¦       D     ¦       B       ¦
¦   ¦   ¦             ¦             ¦     ¦   0  ¦    ¦      1     ¦     1     ¦      2     ¦        1    ¦               ¦
¦   ¦   +------+------+------+------+-----+------+----+-----+------+----+------+-----+------+------+------+-----+---------+

¦   ¦   ¦Номин.¦Пред. ¦Номин.¦Пред. ¦Но-  ¦Номин.¦Но- ¦Но-  ¦Пред. ¦Но- ¦Пред. ¦Но-  ¦Пред. ¦Номин.¦Пред. ¦Но-  ¦  Пред.  ¦
¦   ¦   ¦      ¦откл. ¦      ¦откл. ¦мин. ¦      ¦мин.¦мин. ¦откл. ¦мин.¦откл. ¦мин. ¦откл. ¦      ¦откл. ¦мин. ¦  откл.  ¦
+---+---+------+------+------+------+-----+------+----+-----+------+----+------+-----+------+------+------+-----+---------+

¦ 1 ¦ I ¦10,005¦-0,011¦ 40,00¦ -0,1 ¦23,84¦ 61,25¦ -  ¦64,26¦+0,100¦ -  ¦  -   ¦  -  ¦   -  ¦23,803¦+0,020¦36,0 ¦+/- 0,195¦
¦   ¦   +------+------+------+------+     ¦      ¦    ¦     ¦      ¦    ¦      ¦     ¦      ¦      ¦      ¦     ¦         ¦
¦   ¦   ¦14,725¦-0,010¦ 57,17¦-0,05 ¦     ¦      ¦    ¦     ¦      ¦    ¦      ¦     ¦      ¦      ¦      ¦     ¦         ¦
¦   ¦   ¦      ¦      ¦  <*> ¦      ¦     ¦      ¦    ¦     ¦      ¦    ¦      ¦     ¦      ¦      ¦      ¦     ¦         ¦
¦   ¦   +------+------+------+      ¦     ¦      ¦    ¦     ¦      ¦    ¦      ¦     ¦      ¦      ¦      ¦     ¦         ¦
¦   ¦   ¦16,000¦+0,012¦ 56,10¦      ¦     ¦      ¦    ¦     ¦      ¦    ¦      ¦     ¦      ¦      ¦      ¦     ¦         ¦
¦   ¦   ¦      ¦+0,011¦ <**> ¦      ¦     ¦      ¦    ¦     ¦      ¦    ¦      ¦     ¦      ¦      ¦      ¦     ¦         ¦
¦   ¦   +------+------+------+      +-----+------+    +-----+      ¦    ¦      ¦     ¦      +------+------+-----+         ¦
¦   ¦   ¦19,050¦+0,015¦ 65,00¦      ¦28,00¦ 71,00¦    ¦73,90¦      ¦    ¦      ¦     ¦      ¦28,000¦+0,021¦39,0 ¦         ¦
¦   ¦   ¦      ¦+0,002¦ <**> ¦      ¦     ¦      ¦    ¦     ¦      ¦    ¦      ¦     ¦      ¦      ¦      ¦     ¦         ¦
+---+---+------+------+------+------+     +------+----+-----+------+----+------+-----+------+------+------+-----+         ¦
¦ 2 ¦II ¦15,200¦+0,032¦ 59,00¦-0,06 ¦     ¦  -   ¦37,3¦  -  ¦  -   ¦ -  ¦  -   ¦  -  ¦   -  ¦  -   ¦  -   ¦45,0 ¦         ¦
¦   ¦   ¦      ¦+0,020¦  <*> ¦      ¦     ¦      ¦    ¦     ¦      ¦    ¦      ¦     ¦      ¦      ¦      ¦     ¦         ¦
¦   ¦   +------+------+------+------+     ¦      +----+     ¦      +----+------+     ¦      +------+------+     ¦         ¦
¦   ¦   ¦15,230¦-0,010¦ 74,15¦-0,03 ¦     ¦      ¦52,1¦     ¦      ¦ 55 ¦+0,046¦     ¦      ¦28,000¦-0,019¦     ¦         ¦
¦   ¦   ¦      ¦      ¦  <*> ¦      ¦     ¦      ¦    ¦     ¦      ¦    ¦      ¦     ¦      ¦      ¦-0,042¦     ¦         ¦
¦   ¦   +------+------+------+      +-----+      +----+     ¦      +----+      ¦     ¦      +------+------+-----+         ¦
¦   ¦   ¦16,300¦-0,012¦ 80,00¦      ¦30,00¦      ¦55,0¦     ¦      ¦ 60 ¦      ¦     ¦      ¦30,000¦-0,010¦50,0 ¦         ¦
¦   ¦   +------+------+  <*> ¦      ¦     ¦      ¦    ¦     ¦      ¦    ¦      ¦     ¦      ¦      ¦-0,034¦     ¦         ¦
¦   ¦   ¦18,940¦-0,013¦      ¦      ¦     ¦      ¦    ¦     ¦      ¦    ¦      ¦     ¦      ¦      ¦      ¦     ¦         ¦
+---+---+------+------+------+------+-----+------+----+-----+------+----+------+-----+------+------+------+-----+         ¦
¦ 3 ¦III¦22,000¦-0,014¦ 90,00¦-0,014¦35,00¦ 98,00¦ -  ¦  -  ¦  -   ¦ -  ¦  -   ¦ 98,0¦-0,070¦35,000¦+0,027¦50,0 ¦         ¦
¦   ¦   ¦      ¦      ¦      ¦      ¦     ¦      ¦    ¦     ¦      ¦    ¦      ¦     ¦      ¦      ¦-0,010¦     ¦         ¦
¦   ¦   +------+------+------+------+     +------+    ¦     ¦      ¦    ¦      +-----+------+------+------+-----+---------+

¦   ¦   ¦25,000¦-0,020¦108,00¦-0,04 ¦     ¦  -   ¦    ¦     ¦      ¦    ¦      ¦118,0¦-0,087¦39,000¦+0,012¦65,0 ¦+/- 0,370¦
¦   ¦   ¦      ¦-0,040¦      ¦-0,075¦     ¦      ¦    ¦     ¦      ¦    ¦      ¦     ¦      ¦      ¦-0,027¦78,0 ¦         ¦
¦   +---+------+------+------+------+-----+------+----+-----+------+----+------+-----+------+------+------+-----+---------+

¦   ¦IV ¦33,635¦-0,027¦127,00¦-0,04 ¦50,00¦136,0 ¦ -  ¦159,0¦+0,100¦ -  ¦  -   ¦135,0¦+0,063¦50,000¦+0,012¦74,0 ¦+/- 0,500¦
¦   ¦   ¦      ¦      ¦      ¦      ¦     ¦      ¦    ¦<**> ¦      ¦    ¦      ¦     ¦      ¦      ¦-0,027¦76,0 ¦         ¦
¦   ¦   +------+      +------+------+     ¦      ¦    ¦     ¦      ¦    ¦      ¦     +------+      ¦      +-----+         ¦
¦   ¦   ¦33,620¦      ¦123,00¦-0,05 ¦     ¦      ¦    ¦     ¦      ¦    ¦      ¦     ¦-0,080¦      ¦      ¦82,0 ¦         ¦
¦   ¦   ¦      ¦      ¦ <**> ¦-0,09 ¦     ¦      ¦    ¦     ¦      ¦    ¦      ¦     ¦      ¦      ¦      ¦94,0 ¦         ¦
¦   ¦   +------+      +------+------+     +------+    ¦     ¦      ¦    ¦      +-----+------+      +------+-----+         ¦
¦   ¦   ¦33,635¦      ¦147,00¦-0,04 ¦     ¦155,0 ¦    ¦     ¦      ¦    ¦      ¦155,0¦+0,041¦      ¦-0,017¦87,0 ¦         ¦
¦   ¦   ¦      ¦      ¦143,00¦      ¦     ¦      ¦    ¦     ¦      ¦    ¦      ¦     ¦-0,042¦      ¦ <*>  ¦88,0 ¦         ¦
¦   ¦   ¦      ¦      ¦ <**> ¦      ¦     ¦      ¦    ¦     ¦      ¦    ¦      ¦     ¦      ¦      ¦-0,042¦     ¦         ¦
¦   ¦   ¦      ¦      ¦      ¦      ¦     ¦      ¦    ¦     ¦      ¦    ¦      ¦     ¦      ¦      ¦ <*>  ¦     ¦         ¦
+---+   +------+------+------+      +-----+------+----+     ¦      ¦    ¦      +-----+------+------+------+-----+         ¦
¦ 1 ¦   ¦ 40,90¦-0,002¦142,00¦      ¦57,00¦152,00¦ -  ¦     ¦      ¦    ¦      ¦  -  ¦   -  ¦57,000¦+0,030¦105,0¦         ¦
¦   ¦   ¦      ¦-0,018¦ <**> ¦      ¦     ¦      ¦    ¦     ¦      ¦    ¦      ¦     ¦      ¦      ¦      ¦     ¦         ¦
¦   +---+------+------+------+      +-----+------+    +-----+------+----+------+-----+------+------+------+-----+         ¦
¦   ¦ V ¦45,000¦-0,020¦165,00¦      ¦62,00¦175,0 ¦    ¦  -  ¦  -   ¦ -  ¦  -   ¦173,0¦+0,055¦62,000¦+0,012¦86,0 ¦         ¦
¦   ¦   ¦      ¦-0,035¦161,00¦      ¦     ¦      ¦    ¦     ¦      ¦    ¦      ¦     ¦+0,015¦      ¦-0,027¦     ¦         ¦
¦   ¦   ¦      ¦      ¦ <**> ¦      ¦     ¦      ¦    ¦     ¦      ¦    ¦      ¦     ¦      ¦      ¦      ¦     ¦         ¦
¦   ¦   ¦      ¦      ¦      ¦      ¦     ¦      ¦    ¦     ¦      ¦    ¦      ¦     ¦      ¦      ¦      ¦     ¦         ¦
¦   ¦   ¦49,425¦-0,016¦168,00¦      ¦72,00¦185,0 ¦    ¦190,0¦-0,046¦ -  ¦  -   ¦  -  ¦   -  ¦72,000¦+0,03 ¦110,0¦         ¦
+---+---+------+------+------+------+-----+------+----+-----+------+----+------+-----+------+------+------+-----+---------+

¦    <*> Размер при применении стопорных колец для фиксации подшипников.                                                  ¦
¦    <**> Размер при применении стопорных колец и торцовых шайб.                                                          ¦
¦                                                                                                                         ¦
¦    Примечания. 1.  Типоразмеры  шарниров  при  необходимости  могут  быть                                               ¦
¦дополнены.                                                                                                               ¦
¦    2. При применении торцовых шайб  номинальный  размер H  соответственно                                               ¦
¦уменьшается.                                                                                                             ¦
+-------------------------------------------------------------------------------------------------------------------------+

 

4. Технические требования

 

4.1. Твердость поверхностного слоя крестовин шарниров после окончательной обработки должна быть не менее:

Рисунок 22- на цилиндрической поверхности шипов крестовин;

Рисунок 23- на торцах шипов крестовин.

4.2. Эффективная глубина поверхностного слоя после окончательной обработки должна быть не менее:

0,8 мм - для крестовин шарниров I - II рядов;

1,6 мм - III ряда;

1,8 мм - IV - V рядов.

4.3. Шероховатость поверхности после окончательной обработки не должна превышать следующих значений параметра Ra [при базовых длинах в соответствии с ГОСТ 2789 (Приложение I)]:

0,32 мкм - на цилиндрической поверхности шипов крестовин;

0,63 мкм для I ряда и 1,25 мкм для II - V рядов - на поверхности торцов шипов крестовин;

1,25 мкм - на цилиндрической (посадочной) поверхности отверстий вилок под подшипник.

4.4. Отклонения от круглости и профиля продольного сечения должны быть не более:

0,006 мм - для шипов крестовины (размер D);

половины допуска на диаметр рассматриваемой поверхности - для отверстий вилок под подшипники (размер Рисунок 24).

4.5. Отклонение от соосности осей противоположных шипов крестовин должно быть не более 0,006 мм для цилиндрического поля допуска, указанного радиусом.

4.6. Отклонение от соосности осей отверстий вилок должно быть не более 0,006 мм для цилиндрического поля допуска, указанного радиусом.

4.7. Отклонение от пересечения осей отверстий вилок кардана с осью центрирующей поверхности должно быть не более:

0,05 мм - для вилок I ряда;

0,1 мм - для вилок II - V рядов.

Примечание. При недостаточной длине установочного буртика фланца карданной вилки вместо определения отклонения от пересечения осей отверстий вилок с осью центрирующей поверхности допускается определение торцового биения, которое должно быть не более 0,02 мм.

 

4.8. Отклонение от параллельности оси отверстий вилок относительно присоединительной плоскости фланца вилки должно быть не более 0,1 мм на длине 100 мм.

4.9. Отклонение от перпендикулярности торцов вилок относительно оси отверстия соответствующего ушка в пределах длины рассматриваемой поверхности должно быть не более:

0,05 мм - для I ряда;

0,1 мм - для II - V рядов.

4.10. Отклонение от симметричности для размера H крестовин и размеров Рисунок 25, Рисунок 26и Рисунок 27вилок шарниров должно быть не более:

0,05 мм - для II ряда и для крестовин с H = 90 мм III ряда;

0,1 мм - для остальных рядов.

4.11. Отклонение от плоскостности торцов шипов крестовины должно быть не более:

0,015 мм - для I - II рядов;

0,025 мм - для III - V рядов.

4.12. Отклонение от перпендикулярности торцов шипов крестовины должно быть не более 0,025 мм.

4.13. Шарниры и их элементы (крестовины, вилки, игольчатые подшипники) должны выдерживать максимальный крутящий момент, действующий на карданный вал, по ГОСТ Р 52430.

4.14. Присоединительные размеры, обеспечивающие взаимозаменяемость фланцев, должны соответствовать значениям, указанным на рисунках 4, 5 и в таблице 2, рисунках 6, 7 и в таблице 3.

 

ГОСТ Р 52923-2008 Автомобильные транспортные средства. Шарниры карданные неравных угловых скоростей. Общие технические требования и методы испытаний

 

--------------------------------

<*> Фланец центрируют по поверхности выточки глубиной (4,5 +/- 1,0) мм.

 

Рисунок 4. Типы фланцев карданных шарниров

с присоединительными поверхностями

 

ГОСТ Р 52923-2008 Автомобильные транспортные средства. Шарниры карданные неравных угловых скоростей. Общие технические требования и методы испытаний

 

Рисунок 5. Типы фланцев-вилок карданных шарниров

с присоединительными поверхностями

 

Таблица 2

 

Основные параметры фланцев

с присоединительными поверхностями

 

                                                      Размеры в миллиметрах

+----+-----+------+----+-------------+-----+------------+----+------------+

¦Код ¦Номер¦D     ¦R   ¦     D       ¦  D  ¦     h      ¦Чис-¦     d      ¦
¦ти- ¦рису-¦ 1 max¦ max¦      0      ¦   2 ¦            ¦ло  ¦            ¦
¦по- ¦нка  ¦      ¦    +------+------+     +------+-----+от- +------+-----+

¦раз-¦     ¦      ¦    ¦Номин.¦Посад-¦     ¦Номин.¦Пред.¦вер-¦Номин.¦Пред.¦
¦мера¦     ¦      ¦    ¦      ¦ка в  ¦     ¦      ¦откл.¦стий¦      ¦откл.¦
¦    ¦     ¦      ¦    ¦      ¦сопря-¦     ¦      ¦     ¦    ¦      ¦     ¦
¦    ¦     ¦      ¦    ¦      ¦жении ¦     ¦      ¦     ¦    ¦      ¦     ¦
+----+-----+------+----+------+------+-----+------+-----+----+------+-----+

¦ 0  ¦  4  ¦  -   ¦ 47 ¦ 37,00¦  H   ¦ 70  ¦ 4,0  ¦ h14 ¦ 4  ¦ 10,1 ¦ B12 ¦
+----+-----+------+----+------+   7  +-----+------+<**> ¦    +------+<**> ¦
¦ 1  ¦  4  ¦87,5; ¦ -  ¦ 57,15¦ (--) ¦ 69; ¦ 2,5  ¦     ¦    ¦ 8,0  ¦     ¦
¦    ¦     ¦ 89,0 ¦    ¦      ¦  h   ¦ 87  ¦      ¦     ¦    ¦      ¦     ¦
+----+-----+------+----+------+   7  +-----+------+     ¦    +------+     ¦
¦ 2  ¦  5  ¦  -   ¦ 49 ¦ 47,60¦ <**> ¦ 80  ¦ 2,5  ¦     ¦    ¦ 8,0  ¦     ¦
¦<*> ¦     ¦      ¦    ¦      ¦      ¦     ¦      ¦     ¦    ¦      ¦     ¦
+----+-----+------+----+------+      +-----+------+     ¦    +------+     ¦
¦ 3  ¦  4  ¦  -   ¦ 53 ¦ 60,00¦      ¦ 80  ¦ 2,0; ¦     ¦    ¦ 10,1 ¦     ¦
¦    ¦     ¦      ¦    ¦      ¦      ¦     ¦ 1,5  ¦     ¦    ¦      ¦     ¦
¦    ¦     ¦      ¦    ¦      ¦      ¦     ¦<***> ¦     ¦    ¦      ¦     ¦
+----+-----+------+----+------+------+-----+------+     ¦    +------+     ¦
¦ 4  ¦  4  ¦  -   ¦ 62 ¦ 70,00¦  H   ¦ 96; ¦ 2,5  ¦     ¦    ¦ 12,1 ¦     ¦
¦    ¦     ¦      ¦    ¦      ¦   8  ¦ 95  ¦      ¦     ¦    ¦      ¦     ¦
¦    ¦     ¦      ¦    ¦      ¦ (--) ¦<***>¦      ¦     ¦    ¦      ¦     ¦
+----+-----+------+----+------+  h   +-----+------+     ¦    +------+     ¦
¦ 5  ¦  4  ¦  -   ¦ 69 ¦ 80,00¦   8  ¦ 110 ¦ 3,0  ¦     ¦    ¦ 12,1 ¦     ¦
+----+-----+------+----+------+ <**> +-----+------+     ¦    +------+     ¦
¦ 6  ¦  4  ¦  -   ¦ 74 ¦ 95,00¦      ¦ 120 ¦ 2,5  ¦     ¦    ¦ 14,1 ¦     ¦
+----+-----+------+----+------+      +-----+------+     ¦    +------+     ¦
¦ 7  ¦  4  ¦  -   ¦ 86 ¦ 95,00¦      ¦ 140 ¦ 2,5  ¦     ¦    ¦16,1; ¦     ¦
¦    ¦     ¦      ¦    ¦      ¦      ¦     ¦      ¦     ¦    ¦ 16,5 ¦     ¦
¦    ¦     ¦      ¦    ¦      ¦      ¦     ¦      ¦     ¦    ¦<***> ¦     ¦
+----+-----+------+----+------+------+-----+------+-----+----+------+-----+

¦ 8  ¦  5  ¦150,0 ¦ -  ¦ 90,00¦  H   ¦ 130 ¦ 3,0  ¦ h14 ¦ 8; ¦ 12,1 ¦ B12 ¦
¦    ¦     ¦      ¦    ¦      ¦   8  ¦     ¦      ¦     ¦ 10 ¦      ¦     ¦
+----+-----+------+----+------+  --  +-----+------+-----+----+------+-----+

¦ 9  ¦  4  ¦175,0 ¦ -  ¦132,00¦  h   ¦ 155 ¦ 3,0  ¦ h14 ¦ 8; ¦12,1; ¦ B12 ¦
¦    ¦     ¦      ¦    ¦      ¦   8  ¦     ¦      ¦<**> ¦ 12 ¦ 10,1 ¦<**> ¦
¦    ¦     ¦      ¦    ¦      ¦      ¦     ¦      ¦     ¦    ¦<***> ¦     ¦
+----+-----+------+----+------+      +-----+------+-----+----+------+-----+

¦ 10 ¦  5  ¦180,0 ¦ -  ¦110,00¦      ¦155,5¦ 3,5  ¦ h14 ¦ 8; ¦14,1; ¦ B12 ¦
¦    ¦     ¦      ¦    ¦      ¦      ¦     ¦      ¦     ¦ 10 ¦  16  ¦     ¦
+----+-----+------+----+------+------+-----+------+-----+----+------+-----+

¦ 11 ¦  4  ¦205,0 ¦ -  ¦198,00¦  H   ¦ 185 ¦ 3,0  ¦ h14 ¦ 8; ¦12,1; ¦ B12 ¦
¦    ¦     ¦      ¦    ¦      ¦   8  ¦     ¦      ¦<**> ¦ 12 ¦ 10,1 ¦<**> ¦
¦    ¦     ¦      ¦    ¦      ¦ (--) ¦     ¦      ¦     ¦    ¦<***> ¦     ¦
+----+-----+------+----+------+  h   +-----+------+     ¦    +------+-----+

¦ 12 ¦  4  ¦230,0 ¦ -  ¦223,00¦   8  ¦ 205 ¦ 4,0  ¦     ¦    ¦16,1; ¦ B12 ¦
¦    ¦     ¦      ¦    ¦      ¦ <**> ¦     ¦      ¦     ¦    ¦ 14,1 ¦<**> ¦
¦    ¦     ¦      ¦    ¦      ¦      ¦     ¦      ¦     ¦    ¦<***> ¦     ¦
+----+-----+------+----+------+------+-----+------+-----+----+------+-----+

¦    <*>  Фланец    центрируют    по    поверхности    выточки    глубиной¦
¦(4,5 +/- 1,0) мм.                                                        ¦
¦    <**>  Для  вновь  проектируемых  карданных  валов.  Для  действующего¦
¦производства выполняют  в  соответствии  с  требованиями  конструкторской¦
¦документации.                                                            ¦
¦    <***> Не применяют для вновь проектируемых карданных валов.          ¦
+-------------------------------------------------------------------------+

 

ГОСТ Р 52923-2008 Автомобильные транспортные средства. Шарниры карданные неравных угловых скоростей. Общие технические требования и методы испытаний

 

--------------------------------

<*> Для типоразмера Рисунок 31= 120 мм L = 6 x 6,8 = 40,8.

<**> Размер устанавливается разработчиком конструкторской документации (КД).

 

Примечания. 1. Предельные отклонения расстояния между любыми несмежными зубьями +/- 0,02.

2. Допускается оптимизировать контур штамповки выступов расположения зубьев во избежание взаимного подреза.

 

Рисунок 6. Фланец карданного шарнира

 

ГОСТ Р 52923-2008 Автомобильные транспортные средства. Шарниры карданные неравных угловых скоростей. Общие технические требования и методы испытаний

 

--------------------------------

<*> Для типоразмера Рисунок 33= 120 мм L = 6 x 6,8 = 40,8.

 

Примечание. Предельные отклонения расстояния между любыми несмежными зубьями +/- 0,02.

 

Рисунок 7. Фланец агрегата трансмиссии

 

Таблица 3

 

Основные параметры фланцев

с присоединительными поверхностями

 

                                                      Размеры в миллиметрах

+---------+-------+-------------------------------------------------------+

¦Код типо-¦ Номер ¦                       Размер, мм                      ¦
¦размера  ¦рисунка+----+----+-------+------+-----+--------+------+--------+

¦фланца   ¦       ¦ d  ¦ d  ¦  d    ¦d  <*>¦ d   ¦ L <**> ¦l <**>¦ D х T  ¦
¦         ¦       ¦  1 ¦  2 ¦   3   ¦ 4    ¦  5  ¦+/- 0,5 ¦ -0,5 ¦ <***>  ¦
¦         ¦       ¦ -2 ¦    ¦+/- 0,5¦-0,2  ¦+0,2 ¦        ¦      ¦        ¦
+---------+-------+----+----+-------+------+-----+--------+------+--------+

¦   T120  ¦ 6, 7  ¦120 ¦100 ¦   82  ¦  83  ¦ 11  ¦   14   ¦  10  ¦70 x 22 ¦
+---------+       +----+----+-------+------+-----+--------+------+--------+

¦   T150  ¦       ¦150 ¦130 ¦  102  ¦ 111  ¦ 13  ¦   16   ¦  12  ¦96 x 24 ¦
+---------+       +----+----+-------+------+-----+--------+------+--------+

¦   T165  ¦       ¦165 ¦140 ¦  112  ¦ 121  ¦ 13  ¦   16   ¦  12  ¦96 x 26 ¦
+---------+       +----+----+-------+------+-----+--------+------+--------+

¦   T180  ¦       ¦180 ¦150 ¦  112  ¦ 128  ¦ 15  ¦   18   ¦  14  ¦96 x 26 ¦
+---------+       +----+----+-------+------+-----+--------+------+--------+

¦   T200  ¦       ¦200 ¦165 ¦  132  ¦ 143  ¦ 15  ¦   22   ¦  16  ¦116 x 28¦
+---------+-------+----+----+-------+------+-----+--------+------+--------+

¦    <*> Размер может быть изменен в зависимости от  параметров  крепежных¦
¦элементов.                                                               ¦
¦    <**>  Размер  может  быть  изменен  по  согласованию  потребителя   и¦
¦изготовителя.                                                            ¦
¦    <***> Минимальные размеры выемки для размещения  крепежных  элементов¦
¦фланцев агрегатов.                                                       ¦
+-------------------------------------------------------------------------+

 

Отверстия во фланцах сопрягаемых агрегатов могут иметь резьбу.

4.15. Предельные отклонения от плоскостности, торцовое биение фланцев агрегатов трансмиссии, к которым присоединяются фланцы валов, и радиальное биение их посадочных поверхностей не должны превышать значений, приведенных в ГОСТ Р 52430 (приложение Г, таблица Г.1).

 

5. Методы контроля (испытаний)

 

5.1. Шарниры и их элементы подвергают приемочному контролю службой технического контроля (далее - СТК):

сплошному - крестовины и вилки;

выборочному - подшипники в сборе.

Выборочному контролю подвергают не менее 2% или не менее 5 шт. изделий, изготовленных за смену.

5.2. Контролируемые параметры представлены в таблице 4.

 

Таблица 4

 

+----------------------------------------------------+--------------------+

¦               Наименование параметра               ¦    Вид контроля    ¦
¦                                                    +---------+----------+

¦                                                    ¦Сплошной ¦Выборочный¦
+----------------------------------------------------+---------+----------+

¦ Внешний вид, отсутствие на поверхностях элементов  ¦    +    ¦    +     ¦
¦шарниров трещин, вмятин, механических повреждений   ¦         ¦          ¦
+----------------------------------------------------+---------+----------+

¦ Радиальный зазор в шарнире                         ¦    -    ¦    +     ¦
+----------------------------------------------------+---------+----------+

¦ Твердость рабочих поверхностей (цилиндрических     ¦    +    ¦    +     ¦
¦и торцовых) шипов крестовины                        ¦         ¦          ¦
+----------------------------------------------------+---------+----------+

¦ Шероховатость рабочих поверхностей (цилиндрических ¦    +    ¦    +     ¦
¦и торцовых) шипов крестовины                        ¦         ¦          ¦
+----------------------------------------------------+---------+----------+

¦ Относительные угловые перемещения в шарнире        ¦    -    ¦    +     ¦
+----------------------------------------------------+---------+----------+

¦ Статический крутящий момент, передаваемый шарниром ¦    -    ¦    +     ¦
+----------------------------------------------------+---------+----------+

 

5.3. Предприятие-изготовитель проводит периодический контроль шарниров на соответствие их параметров установленным требованиям не реже одного раза в год. Объем периодических испытаний устанавливает предприятие-разработчик в конструкторской документации на шарниры.

5.4. Потребитель имеет право проводить выборочную проверку шарниров и их элементов на соответствие требованиям настоящего стандарта в объеме до 2% от партии, но не более 3 шт.

Если в проверяемой партии окажутся изделия, не удовлетворяющие требованиям настоящего стандарта, то контролю подвергают удвоенное число изделий.

В случае получения неудовлетворительных результатов при повторной проверке всю партию бракуют и возвращают предприятию-изготовителю.

Примечания. 1. Предприятие-изготовитель проводит разбраковку партии и предъявляет ее потребителю повторно.

2. Партией считается:

у изготовителя - число изделий, одновременно предъявленных для контроля;

у потребителя - число изделий, одновременно поступивших от изготовителя по одному отгрузочному документу.

 

5.5. Контроль линейных размеров осуществляют путем измерений с предельно допустимыми погрешностями, установленными ГОСТ 8.051.

5.6. Контроль твердости поверхностного слоя и его толщины по [1] - [5].

5.7. Контроль шероховатости поверхности - по ГОСТ 2789.

5.8. Прочность элементов шарниров проверяют при установке их в карданный вал и испытании его на крутильной машине.

Крутящий момент, нагружающий карданный вал, должен соответствовать максимальному крутящему моменту, действующему на карданную передачу в трансмиссии автомобиля, для которой она предназначена.

5.9. Результаты испытаний оформляют протоколом, форма которого приведена в Приложении А.

 

6. Маркировка

 

6.1. Шарниры маркируют, обеспечивая их идентификацию. Содержание маркировки, метод и место нанесения на изделие устанавливают в КД в соответствии с [6].

Если нанести маркировку непосредственно на шарнир невозможно, ее наносят на бирку или тару (упаковку).

 

7. Упаковка

 

7.1. Упаковка шарниров должна обеспечивать их сохранность от механических повреждений, воздействия атмосферных осадков и загрязнений. Вид упаковки, а также возможное ее отсутствие, указывают в документах на поставку.

 

8. Транспортирование и хранение

 

8.1. Шарниры перевозят любым видом транспорта, обеспечивающим их сохранность от механических повреждений, воздействия атмосферных осадков и загрязнений. Группа условий транспортирования - 6 (ОЖ2), хранения - 3 (ЖЗ) по ГОСТ 15150.

Допускается по согласованию между предприятием-изготовителем и потребителем применять другие условия транспортирования и хранения по ГОСТ 15150.

8.2. Все наружные металлические поверхности шарниров следует законсервировать по ГОСТ 9.014 на срок, оговоренный в документах на поставку.

 

9. Гарантии изготовителя

 

9.1. Предприятие-изготовитель гарантирует соответствие шарниров требованиям настоящего стандарта при соблюдении установленных предприятием правил эксплуатации, транспортирования и хранения.

9.2. Гарантийный срок эксплуатации и гарантийная наработка шарниров, поставляемых в качестве комплектующих изделий, должны быть не менее гарантийного срока и гарантийной наработки АТС, для которых они предназначены.

9.3. Гарантийный срок эксплуатации и гарантийную наработку шарниров исчисляют в соответствии с гарантийными обязательствами на АТС, а поставляемых в качестве запасных частей - с момента установки их на АТС.

9.4. Гарантийный срок хранения шарниров - не более 12 мес.

Гарантийный срок хранения шарниров исчисляют с даты их отгрузки потребителю.

 

Приложение А

(рекомендуемое)

 

ФОРМА ПРОТОКОЛА ИСПЫТАНИЙ

 

                                                   УТВЕРЖДАЮ

                                          Руководитель испытательного

                                                 подразделения

 

                                    __________________  ___________________

                                      личная подпись     инициалы, фамилия

 

                                          ___________________________

                                                      дата

 

                       ПРОТОКОЛ ИСПЫТАНИЙ N ________

 

1. Идентификационные данные испытуемого изделия ___________________________

___________________________________________________________________________

2. Цель испытаний: Определение  соответствия  шарниров  карданных  неравных

угловых  скоростей  требованиям   технических   и  нормативных   документов

(ТД, ГОСТ Р 52923-2008).

3.  Метод  испытаний:   Метод   испытаний   изложен  в  ГОСТ  Р  52923-2008

"Автомобильные транспортные средства. Шарниры  карданные  неравных  угловых

скоростей. Общие технические требования и методы испытаний".

4. Результаты испытаний

 

+-----------------------+-------------------------+-----------------------+

¦       Параметр        ¦       Требование        ¦       Результат       ¦
+-----------------------+-------------------------+-----------------------+

¦                       ¦                         ¦                       ¦
+-----------------------+-------------------------+-----------------------+

¦                       ¦                         ¦                       ¦
+-----------------------+-------------------------+-----------------------+

¦                       ¦                         ¦                       ¦
+-----------------------+-------------------------+-----------------------+

¦                       ¦                         ¦                       ¦
+-----------------------+-------------------------+-----------------------+

¦                       ¦                         ¦                       ¦
+-----------------------+-------------------------+-----------------------+

 

5. Заключение

Испытуемое изделие соответствует (не соответствует) требованиям технических

и нормативных документов.

 

__________________________   ____________________   _______________________

   должность испытателя        личная подпись          инициалы, фамилия

 

                                         __________________________

                                                    дата

 

БИБЛИОГРАФИЯ

 

[1] ОСТ 37.001.056-74. Методы измерения цементированного слоя деталей

[2] ОСТ 37.001.057-74. Методы измерения нитроцементированного слоя деталей

[3] ОСТ 37.001.058-74. Методы измерения толщины цианированного слоя деталей

[4] ОСТ 37.001.059-74. Методы измерения толщины азотированного слоя деталей

[5] ОСТ 37.001.060-74. Методы измерения толщины слоя поверхностной закалки деталей

[6] ОСТ 37.001.269-96. Транспортные средства. Маркировка.

 

ГОСТ Р 52923-2008 Автомобильные транспортные средства. Шарниры карданные неравных угловых скоростей. Общие технические требования и методы испытаний

 

СКЛАД ЗАКОНОВ

 

 

  Яндекс цитирования